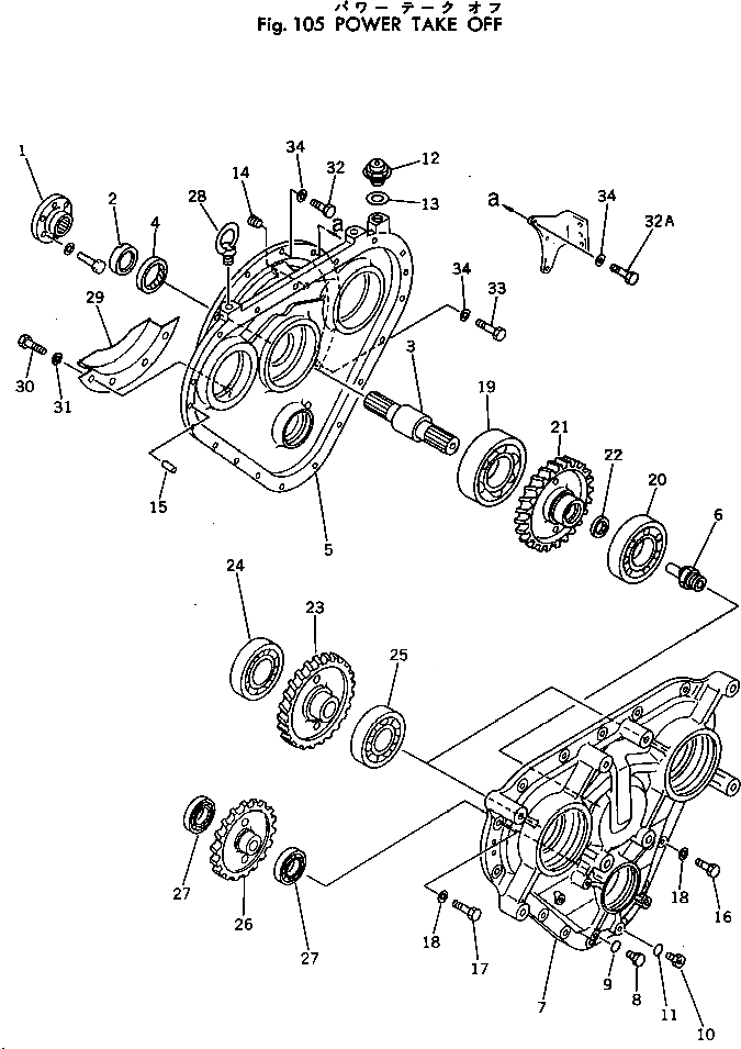
Запчасти Komatsu PC300-2 МЕХ-М ОТБОРА МОЩНОСТИ КОМПОНЕНТЫ ДВИГАТЕЛЯ И ЭЛЕКТРИКА

Схема запчастей Komatsu PC300-2 - МЕХ-М ОТБОРА МОЩНОСТИ КОМПОНЕНТЫ ДВИГАТЕЛЯ И ЭЛЕКТРИКА
FIT
1:1
100%

Артикул

Название

Примечание

Количество

1

207-38-12170

COUPLING

2

207-38-12210

SPACER

3

207-38-12160

SHAFT

4

07011-00075

SEAL

5

207-38-12110

CASE

6

207-38-12190

NIPPLE

7

207-38-12120

CASE

8

07040-11209

PLUG

9

07002-01223

O-RING

10

07044-12412

PLUG

11

07002-02434

O-RING

12

232-23-11220

BREATHER

13

07005-03016

GASKET

14

07043-51019

PLUG

15

04020-01434

PIN

16

01010-51235

BOLT

17

01010-51245

BOLT

18

01643-31232

WASHER

19

06045-06317

BEARING

20

06042-00217

BEARING

21

207-38-12130

GEAR

22

207-38-12220

SEAL

23

207-38-12140

GEAR

24

06030-06312

BEARING

25

06035-06312

BEARING

26

207-38-12150

GEAR

27

06030-06009

BEARING

28

04530-12438

BOLT

29

207-38-12180

BRACKET

30

01010-51235

BOLT

31

01643-31232

WASHER

32

01010-51245

BOLT

32A

01010-51265

BOLT

33

01010-51250

BOLT

34

01643-31232

WASHER

Выбрано товаров: 0