Запчасти Komatsu PC300-2 MACHINERY ОБСТАНОВКА (/) ОСНОВНАЯ РАМА И КАБИНА

Схема запчастей Komatsu PC300-2 - MACHINERY ОБСТАНОВКА (/) ОСНОВНАЯ РАМА И КАБИНА
FIT
1:1
100%

Артикул

Название

Примечание

Количество

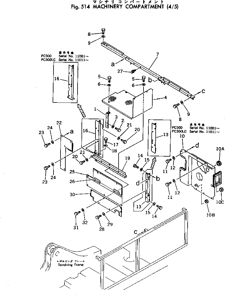
1

207-54-16790

BRACKET

2

01010-51225

BOLT

3

01643-31232

WASHER

4

207-54-16771

STEP

5

01010-51230

BOLT

6

01643-31232

WASHER

7

207-54-16415

FRAME

|7

207-54-16414

FRAME

8

01010-51230

BOLT

9

01643-31232

WASHER

10

207-54-17460

COVER

10A

205-54-65980

GROMMET

10B

08037-03614

GROMMET

10C

08037-05016

GROMMET

11

01010-51230

BOLT

12

01643-31232

WASHER

13

207-54-16744

FRAME

|13

207-54-16742

FRAME

14

01010-51230

BOLT

15

01643-31232

WASHER

16

207-54-16973

BRACKET

|16

207-54-16972

BRACKET

17

01010-51230

BOLT

18

01643-31232

WASHER

19

207-54-16782

FRAME

20

01010-51230

BOLT

21

01643-31232

WASHER

22

207-54-16952

COVER

23

01010-51230

BOLT

24

01643-31232

WASHER

25

207-54-16751

COVER

26

175-54-29330

HINGE (WELDED)

27

09459-00000

LOCK

28

01010-51230

BOLT

29

01643-31232

WASHER

30

207-54-16762

COVER

31

01010-51230

BOLT

32

01643-31232

WASHER

Выбрано товаров: 38