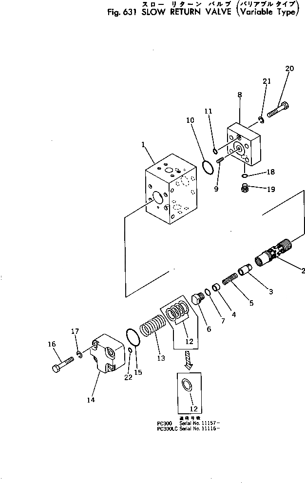
Запчасти Komatsu PC300-2 МЕДЛЕНН. ОбРАТН. КЛАПАН (РЕГУЛИР. ТИП) УПРАВЛ-Е РАБОЧИМ ОБОРУДОВАНИЕМ

Схема запчастей Komatsu PC300-2 - МЕДЛЕНН. ОбРАТН. КЛАПАН (РЕГУЛИР. ТИП) УПРАВЛ-Е РАБОЧИМ ОБОРУДОВАНИЕМ
FIT
1:1
100%

Артикул

Название

Примечание

Количество

|1

702-15-55000

VALVE ASS'Y

1

BODY

2

SPOOL

3

706-75-71320

VALVE

4

702-15-55130

PLATE

5

702-15-55160

SPRING

6

706-75-73160

PLUG

7

07002-12034

O-RING

8

702-15-55140

FLANGE

9

701-30-67220

PISTON

10

07000-13038

O-RING

11

07000-12010

O-RING

12

706-75-73170

RING

|12

706-75-73170

RING

13

702-15-55151

SPRING

|13

702-15-55150

SPRING

14

706-75-73191

COVER

15

07000-13050

O-RING

16

01010-51265

BOLT

17

01602-21236

WASHER,SPRING

18

07002-11423

O-RING

19

07040-11409

PLUG

20

01010-51255

BOLT

21

01602-21236

WASHER,SPRING

22

07000-12010

O-RING

Выбрано товаров: 25