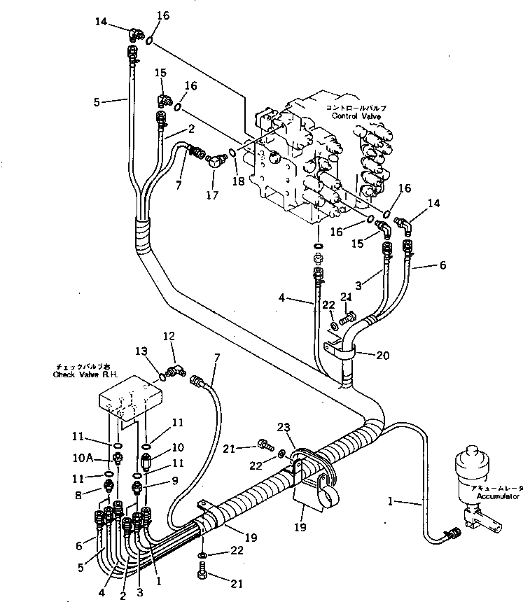
Запчасти Komatsu PC300-3 КЛАПАН PPCТРУБЫ(/)(ДЛЯ WRIST УПРАВЛ-Е)(БЕЗ АВТОМ. ЗАМЕДЛЕНИЕ ОБОРОТОВ)(БЕЗ ПОВОРОТН. МЕХАНИЧ. ТОРМОЗ.)(№889-) ПОВОРОТН. И СИСТЕМА УПРАВЛЕНИЯ

Схема запчастей Komatsu PC300-3 - КЛАПАН PPCТРУБЫ(/)(ДЛЯ WRIST УПРАВЛ-Е)(БЕЗ АВТОМ. ЗАМЕДЛЕНИЕ ОБОРОТОВ)(БЕЗ ПОВОРОТН. МЕХАНИЧ. ТОРМОЗ.)(№889-) ПОВОРОТН. И СИСТЕМА УПРАВЛЕНИЯ
FIT
1:1
100%

Артикул

Название

Примечание

Количество

|$0

207-62-33622

HOSE ASS'Y

1

07102-20322

HOSE,(RED)

2

07102-20227

HOSE,(GREEN)

3

07102-20223

HOSE,(BLACK)

4

07102-20224

HOSE,(BLUE)

5

07102-20328

HOSE,(YELLOW)

6

07102-20325

HOSE,(WHITE)

7

207-62-33650

HOSE

8

205-62-55270

NIPPLE

9

07230-10210

UNION

10

207-62-33951

NIPPLE

10A

207-62-31820

NIPPLE

11

07002-01423

O-RING

12

07235-10210

ELBOW

13

07002-01423

O-RING

14

07235-10315

ELBOW

15

20N-63-66190

ELBOW

16

07002-02034

O-RING

17

07236-10210

ELBOW

17

07235-10210

ELBOW

18

07002-01423

O-RING

19

21K-03-11190

CLIP

20

08036-03014

CLIP

21

01010-51225

BOLT

22

01643-31232

WASHER

23

207-62-33990

GROMMET

Выбрано товаров: 26