Запчасти Komatsu PC300-3 СЕРВОКЛАПАН¤ ЗАДН. (/) (С -STAGE SELECTOR MODE OLSS)(№-.) УПРАВЛ-Е РАБОЧИМ ОБОРУДОВАНИЕМ

Схема запчастей Komatsu PC300-3 - СЕРВОКЛАПАН¤ ЗАДН. (/) (С -STAGE SELECTOR MODE OLSS)(№-.) УПРАВЛ-Е РАБОЧИМ ОБОРУДОВАНИЕМ
FIT
1:1
100%

Артикул

Название

Примечание

Количество

|$0

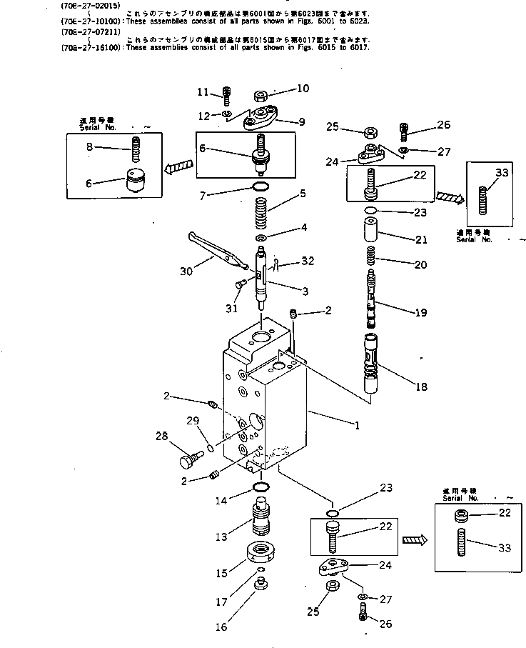
708-27-02015

HYDRAULIC PUMP ASS'Y,(HPV 160+160)

|$1

708-27-02014

HYDRAULIC PUMP ASS'Y,(HPV 160+160)

|$2

708-27-02013

HYDRAULIC PUMP ASS'Y,(HPV 160+160)

|$3

708-27-02012

HYDRAULIC PUMP ASS'Y,(HPV 160+160)

|$4

708-27-02011

HYDRAULIC PUMP ASS'Y,(HPV 160+160)

|$5

708-27-02010

HYDRAULIC PUMP ASS'Y,(HPV 160+160)

|$6

708-27-10100

PUMP ASS'Y,(HPV 160+160)

|$7

708-27-07211

SERVO VALVE ASS'Y,REAR

|$8

708-27-07210

SERVO VALVE ASS'Y,REAR

|$9

708-27-16100

SERVO VALVE ASS'Y,REAR

|$10

708-27-16200

SERVO VALVE SUB A.

|$11

708-23-07021

BODY ASS'Y

|$12

708-23-07020

BODY ASS'Y

1

BODY

2

EXPANDER

2

PLUG

3

708-25-15120

PISTON

4

708-25-15130

SEAT

5

708-27-15140

SPRING

6

708-25-15420

PLUG

6

708-25-15160

PLUG

7

07000-02018

O-RING

8

708-25-15340

SCREW

9

708-25-15150

COVER

10

01580-10806

NUT

11

708-25-15320

BOLT

11

01252-30616

BOLT

12

01602-20619

WASHER

13

708-25-15171

PLUG

14

07002-02034

O-RING

15

07239-12009

NUT

16

07040-11007

PLUG

17

07002-01023

O-RING

18

708-25-15180

SLEEVE

19

708-25-15280

SPOOL

20

708-25-15310

SPRING

21

708-25-15330

SPACER

21

708-25-15290

SPACER

22

708-25-15430

PLUG

22

708-25-15240

PLUG

23

07000-02012

O-RING

24

708-25-15250

COVER

25

01580-10806

NUT

26

708-25-15320

BOLT

26

01252-30616

BOLT

27

01602-20619

WASHER

28

708-25-15260

PLUG

29

07002-00823

O-RING

30

708-67-16260

ARM

31

04205-00514

PIN

32

04050-01210

PIN

33

708-25-15340

SCREW

Выбрано товаров: 52