Запчасти Komatsu PC300-3 СЕРВОКЛАПАН¤ ПЕРЕДН. (/) (С -STAGE SELECTOR MODE OLSS) УПРАВЛ-Е РАБОЧИМ ОБОРУДОВАНИЕМ

Схема запчастей Komatsu PC300-3 - СЕРВОКЛАПАН¤ ПЕРЕДН. (/) (С -STAGE SELECTOR MODE OLSS) УПРАВЛ-Е РАБОЧИМ ОБОРУДОВАНИЕМ
FIT
1:1
100%

Артикул

Название

Примечание

Количество

|$0

708-27-02035

HYDRAULIC PUMP ASS'Y,(HPV 160+160)

|$1

708-27-02034

HYDRAULIC PUMP ASS'Y,(HPV 160+160)

|$2

708-27-02033

HYDRAULIC PUMP ASS'Y,(HPV 160+160)

|$3

708-27-02032

HYDRAULIC PUMP ASS'Y,(HPV 160+160)

|$4

708-27-02031

HYDRAULIC PUMP ASS'Y,(HPV 160+160)

|$5

708-27-02030

HYDRAULIC PUMP ASS'Y,(HPV 160+160)

|$6

708-27-10120

PUMP ASS'Y,(HPV 160+160)

|$7

708-27-07122

SERVO VALVE ASS'Y,FRONT

|$8

708-27-07121

SERVO VALVE ASS'Y,FRONT

|$9

708-27-07120

SERVO VALVE ASS'Y,FRONT

|$10

708-27-25100

SERVO VALVE ASS'Y,FRONT

|$11

708-27-07720

VALVE ASS'Y

|$12

708-27-28100

VALVE ASS'Y

|$13

708-23-07090

BODY ASS'Y

|$14

708-23-07051

BODY ASS'Y

|$15

708-23-07050

BODY ASS'Y

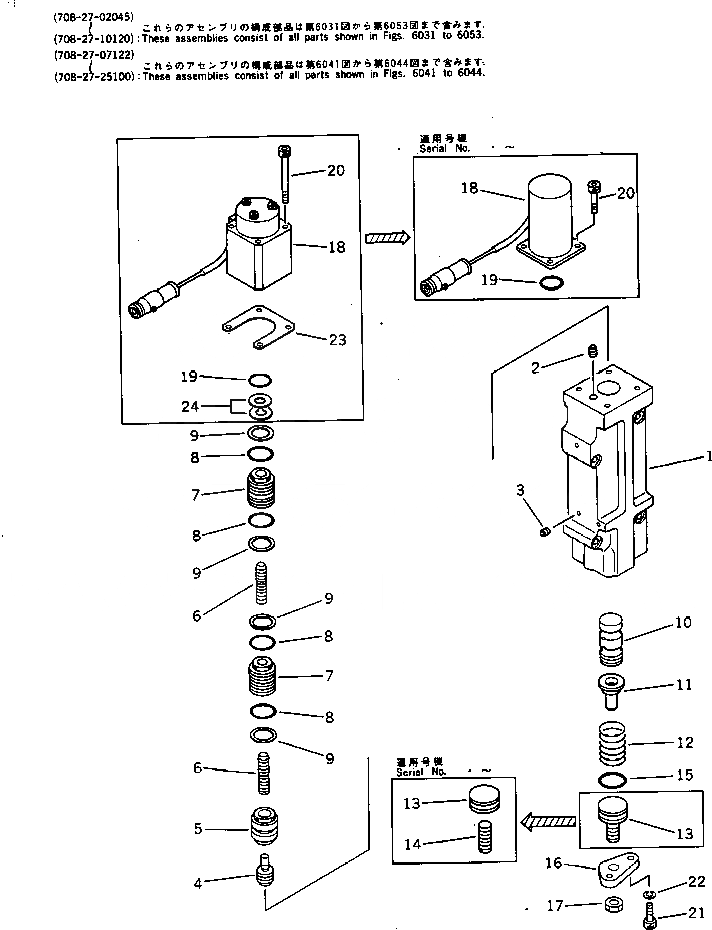
1

BODY

1

BODY

1

BODY

2

PLUG

3

EXPANDER

3

PLUG

4

708-23-18120

PISTON

5

708-23-18130

SLEEVE

6

708-25-18120

PISTON

6

708-23-18140

PISTON

7

708-23-18150

SLEEVE

8

07000-12016

O-RING

9

07001-02016

RING

10

708-23-18161

SPOOL

11

708-23-18170

SEAT

12

708-23-18181

SPRING

13

708-23-15160

PLUG

13

708-23-15140

PLUG

14

708-25-15340

SCREW

15

07000-02018

O-RING

16

708-23-18210

COVER

17

01580-10806

NUT

18

708-23-18221

SOLENOID ASS'Y

18

708-23-18220

SOLENOID ASS'Y

19

07000-02016

O-RING

20

708-23-18250

BOLT

20

720-68-19750

BOLT

21

708-25-15320

BOLT

21

01252-30616

BOLT

22

01602-20619

WASHER

23

708-25-18571

SHIM, 0.50MM

23

708-25-18570

SHIM, 0.50MM

24

708-25-18580

SHIM, 0.50MM

Выбрано товаров: 49