Запчасти Komatsu PC300-3 ОМЫВАТЕЛЬ СТЕКЛА ОПЦИОННЫЕ КОМПОНЕНТЫ

Схема запчастей Komatsu PC300-3 - ОМЫВАТЕЛЬ СТЕКЛА ОПЦИОННЫЕ КОМПОНЕНТЫ
FIT
1:1
100%

Артикул

Название

Примечание

Количество

|$0

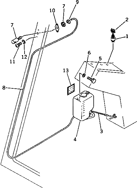
205-06-71690

SWITCH ASS'Y

1

205-06-71390

SWITCH

2

205-06-71670

KNOB

3

205-06-72310

WIRING HARNESS

4

206-06-15230

TANK

5

01010-50612

BOLT

6

01643-30623

WASHER

7

205-06-61220

NOZZLE ASS'Y

8

205-06-71470

HOSE

9

205-06-71610

NUT

10

205-06-71590

BRACKET

11

01220-40412

SCREW

12

01601-20410

WASHER,SPRING

13

09699-00100

PLATE, CAUTION,(JAPANESE)

13

09699-03000

PLATE, CAUTION,(ENGLISH)

13

09699-00200

PLATE, CAUTION,(ARABIC-ENGLISH)

13

207-00-66530

PLATE, CAUTION,(ITALIAN-ENGLISH)

13

09699-00500

PLATE, CAUTION,(INDONESIAN-ENGLISH)

13

09699-01000

PLATE, CAUTION,(SPANISH-ENGLISH)

13

09699-02000

PLATE, CAUTION,(GERMAN-ENGLISH)

13

09699-05000

PLATE, CAUTION,(FRENCH-ENGLISH)

13

205-00-66940

PLATE, CAUTION,(PERSIAN-ENGLISH)

13

09699-09000

PLATE, CAUTION,(CHINESE)

Выбрано товаров: 23