Запчасти Komatsu PC300-3 МОРОЗОУСТОЙЧИВ. СПЕЦ-Я (A) СПЕЦ-ЯIFICATIONS (/7) ОПЦИОННЫЕ КОМПОНЕНТЫ

Схема запчастей Komatsu PC300-3 - МОРОЗОУСТОЙЧИВ. СПЕЦ-Я (A) СПЕЦ-ЯIFICATIONS (/7) ОПЦИОННЫЕ КОМПОНЕНТЫ
FIT
1:1
100%

Артикул

Название

Примечание

Количество

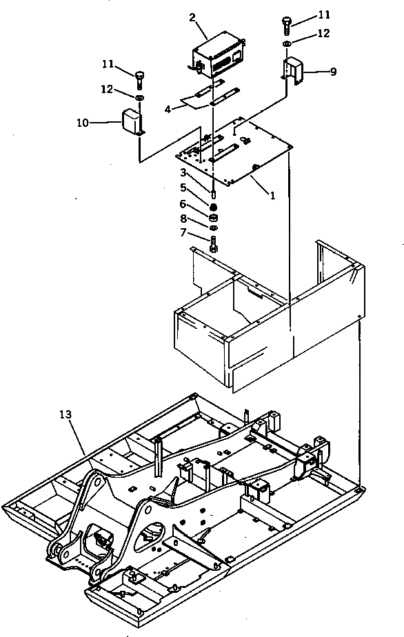
1

207-977-3140

COVER

2

207-977-1200

PRE HEATER ASS'Y

3

195-01-16140

SPACER

4

154-01-15120

CUSHION

5

195-01-16160

CUSHION

6

195-01-16130

COVER

7

01010-51055

BOLT

8

01643-31032

WASHER

9

205-54-76560

COVER

10

205-54-76570

COVER

11

01010-51020

BOLT

12

01643-31032

WASHER

13

207-977-3131

FRAME

13

207-977-3130

FRAME

Выбрано товаров: 14