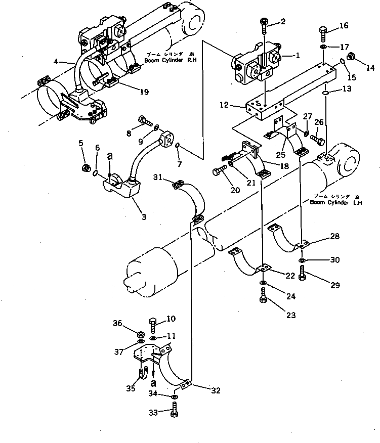
Запчасти Komatsu PC300-3 СТОПОРН. КЛАПАН ЦИЛИНДРА СТРЕЛЫ (REXROTH) ОПЦИОННЫЕ КОМПОНЕНТЫ

Схема запчастей Komatsu PC300-3 - СТОПОРН. КЛАПАН ЦИЛИНДРА СТРЕЛЫ (REXROTH) ОПЦИОННЫЕ КОМПОНЕНТЫ
FIT
1:1
100%

Артикул

Название

Примечание

Количество

1

21P-60-11140

VALVE

2

01252-41050

BOLT

3

207-62-32310

TUBE,L.H.

4

207-62-32320

TUBE,R.H.

5

206-62-43550

PLUG

6

07002-12434

O-RING

7

07000-13032

O-RING

8

01010-51060

BOLT

9

01643-31032

WASHER

10

01010-51025

BOLT

11

01643-31032

WASHER

12

207-62-32250

BLOCK

13

07000-13035

O-RING

14

206-62-43550

PLUG

15

07002-12434

O-RING

16

01010-51065

BOLT

17

01643-31032

WASHER

18

207-62-32260

BRACKET,L.H.

19

207-62-32270

BRACKET,R.H.

20

01010-51045

BOLT

21

01643-31032

WASHER

22

707-88-99730

CLAMP

23

01010-51035

BOLT

24

01643-51032

WASHER

25

207-62-32280

BRACKET

26

01010-51020

BOLT

27

01643-31032

WASHER

28

707-88-99730

CLAMP

29

01010-51035

BOLT

30

01643-51032

WASHER

31

707-88-99730

CLAMP

32

207-62-32350

BRACKET

33

01010-51035

BOLT

34

01643-51032

WASHER

35

07283-23442

CLIP

36

01599-01011

NUT

37

01643-31032

WASHER

Выбрано товаров: 37