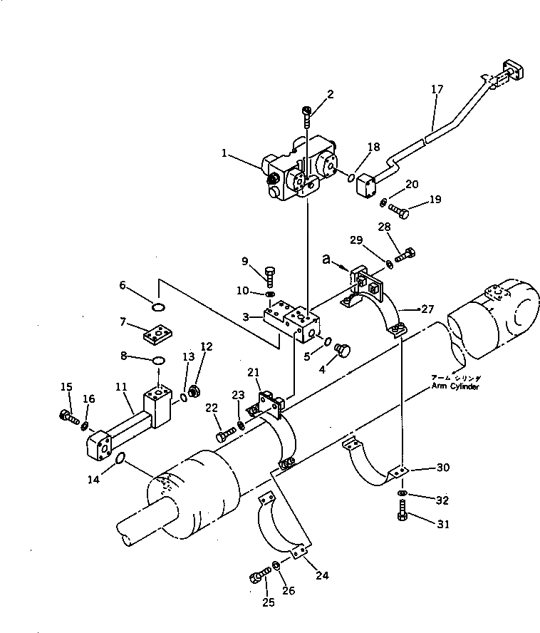
Запчасти Komatsu PC300-3 ЦИЛИНДР РУКОЯТИЗАКРЫВАЮЩИЙ КЛАПАН(REXROTH) ОПЦИОННЫЕ КОМПОНЕНТЫ

Схема запчастей Komatsu PC300-3 - ЦИЛИНДР РУКОЯТИЗАКРЫВАЮЩИЙ КЛАПАН(REXROTH) ОПЦИОННЫЕ КОМПОНЕНТЫ
FIT
1:1
100%

Артикул

Название

Примечание

Количество

1

21P-60-11130

VALVE

2

01252-41260

BOLT

3

207-62-32370

BLOCK

4

206-62-43550

PLUG

5

07002-12434

O-RING

6

07000-13030

O-RING

7

205-62-73560

SPACER

8

07000-13030

O-RING

9

01010-51070

BOLT

10

01643-31032

WASHER

11

207-62-32360

BLOCK

12

206-62-43550

PLUG

13

07002-12434

O-RING

14

07000-13035

O-RING

15

01252-41045

BOLT

16

01643-51032

WASHER

17

207-62-32431

TUBE

17

207-62-32430

TUBE

18

07000-13032

O-RING

19

01010-51470

BOLT

20

01643-31445

WASHER

21

207-62-32410

BRACKET

22

01010-51245

BOLT

23

01643-31232

WASHER

24

208-62-34670

CLAMP

25

01010-51240

BOLT

26

01643-51232

WASHER

27

207-62-32420

BRACKET

28

01010-51245

BOLT

29

01643-31232

WASHER

30

208-62-34670

CLAMP

31

01010-51240

BOLT

32

01643-51232

WASHER

Выбрано товаров: 33