Запчасти Komatsu PC300-3 MACHINERY ОБСТАНОВКА (/) (СПЕЦ-Я TBG) СПЕЦ. APPLICATION ЧАСТИ¤ МАРКИРОВКА¤ ИНСТРУМЕНТ И РЕМКОМПЛЕКТЫ

Схема запчастей Komatsu PC300-3 - MACHINERY ОБСТАНОВКА (/) (СПЕЦ-Я TBG) СПЕЦ. APPLICATION ЧАСТИ¤ МАРКИРОВКА¤ ИНСТРУМЕНТ И РЕМКОМПЛЕКТЫ
FIT
1:1
100%

Артикул

Название

Примечание

Количество

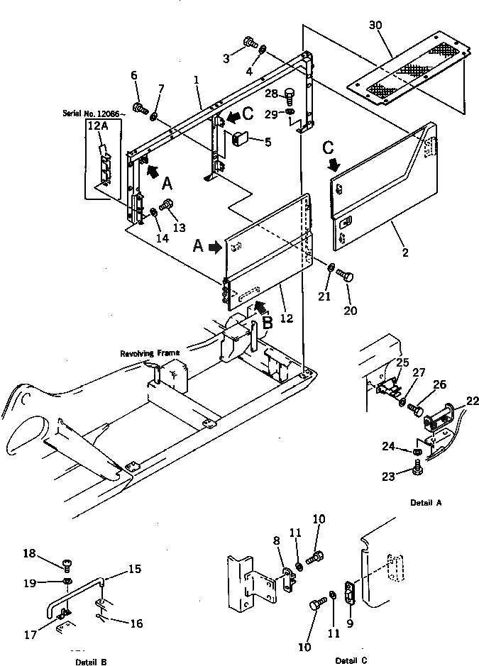
1

207-54-31131

FRAME

1

207-54-31130

FRAME

2

207-54-31911

DOOR

2

207-54-31910

DOOR

3

01010-51225

BOLT

4

01643-31232

WASHER

5

207-54-31890

BRACKET

6

01010-51025

BOLT

7

01643-31032

WASHER

8

205-54-51970

DOVE TAIL

9

205-54-53550

DOVE TAIL

10

01010-50616

BOLT

11

01643-30623

WASHER

12

207-54-31120

DOOR

12A

205-54-55390

SHIM, 1.0MM

13

01010-51225

BOLT

14

01643-31232

WASHER

15

205-54-64140

BAR

16

04050-13018

PIN,COTTER

17

20B-54-12210

SPRING

18

01220-40406

SCREW

19

01641-20405

WASHER

20

01010-51225

BOLT

21

01643-31232

WASHER

22

207-54-31870

BRACKET

23

01010-51020

BOLT

24

01643-31032

WASHER

25

22D-62-14560

CLAMP

26

01010-51020

BOLT

27

01643-31032

WASHER

28

01010-51225

BOLT

29

01643-31232

WASHER

30

207-54-31940

COVER

Выбрано товаров: 0