Запчасти Komatsu PC300-3 ПАНЕЛЬ ПРИБОРОВ (ДЛЯ FREE ПОВОРОТН.) (США СПЕЦ-Я.)(№-) СПЕЦ. APPLICATION ЧАСТИ¤ МАРКИРОВКА¤ ИНСТРУМЕНТ И РЕМКОМПЛЕКТЫ

Схема запчастей Komatsu PC300-3 - ПАНЕЛЬ ПРИБОРОВ (ДЛЯ FREE ПОВОРОТН.) (США СПЕЦ-Я.)(№-) СПЕЦ. APPLICATION ЧАСТИ¤ МАРКИРОВКА¤ ИНСТРУМЕНТ И РЕМКОМПЛЕКТЫ
FIT
1:1
100%

Артикул

Название

Примечание

Количество

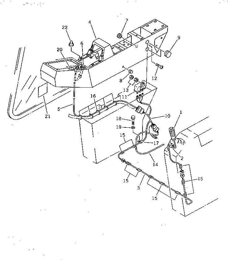
1

205-43-73700

SWITCH ASS'Y,HORN, (SEE FIG.4439)

2

08036-10810

CLIP

3

207-06-32640

WIRING HARNESS

4

205-43-71254

BOX,R.H.

5

207-06-32692

WIRING HARNESS

6

207-06-32680

LAMP

6

08111-12430

BULB, 3W

7

08037-02512

GROMMET

8

09415-01610

CAP

9

09415-02512

CAP

10

207-06-32612

WIRING HARNESS

11

206-06-41130

RELAY,HORN

12

01220-40620

SCREW

13

01580-10605

NUT

14

207-06-32661

WIRING HARNESS

15

205-54-72710

CLIP

16

08034-00519

BAND

17

145-01-42120

CLIP

18

01010-51225

BOLT

19

01643-31232

WASHER

20

207-00-31560

PLATE

21

207-00-31571

PLATE, OPERATING

22

203-06-41680

CAP

Выбрано товаров: 0