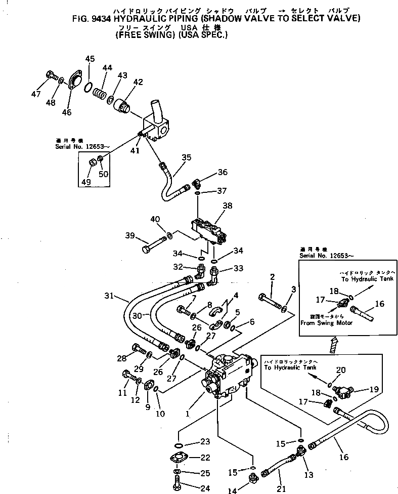
Запчасти Komatsu PC300-3 ГИДРОЛИНИЯ (SHADOW КЛАПАН - SELECT КЛАПАН) (FREE ПОВОРОТН.) (США СПЕЦ-Я.) СПЕЦ. APPLICATION ЧАСТИ¤ МАРКИРОВКА¤ ИНСТРУМЕНТ И РЕМКОМПЛЕКТЫ

Схема запчастей Komatsu PC300-3 - ГИДРОЛИНИЯ (SHADOW КЛАПАН - SELECT КЛАПАН) (FREE ПОВОРОТН.) (США СПЕЦ-Я.) СПЕЦ. APPLICATION ЧАСТИ¤ МАРКИРОВКА¤ ИНСТРУМЕНТ И РЕМКОМПЛЕКТЫ
FIT
1:1
100%

Артикул

Название

Примечание

Количество

1

709-91-11300

VALVE

2

01010-51280

BOLT

3

01643-31232

WASHER

4

07371-51260

FLANGE

5

07378-11210

HEAD

6

07000-13038

O-RING

7

01010-51245

BOLT

8

01643-31232

WASHER

9

569-95-91140

PLATE

10

07000-13038

O-RING

11

07372-21035

BOLT

12

01643-51032

WASHER

13

205-62-66171

TEE

14

205-62-66181

ELBOW

15

07002-02434

O-RING

16

07103-20215

HOSE

16

07103-20211

HOSE

17

208-62-17550

TEE

17

07235-10210

ELBOW

18

07002-02034

O-RING

18

07002-01423

O-RING

19

207-62-32750

TEE

20

07002-02434

O-RING

21

207-62-25240

HOSE

22

209-62-24380

FLANGE

23

07000-13038

O-RING

24

01010-51245

BOLT

25

01643-31232

WASHER

26

207-62-32680

FLANGE

27

07000-13032

O-RING

28

07372-21035

BOLT

29

01643-51032

WASHER

30

07121-00605

HOSE

31

07121-00607

HOSE

32

07235-10628

ELBOW

33

207-62-32650

ELBOW

34

07002-12434

O-RING

35

07102-20203

HOSE

36

07235-10210

ELBOW

37

07002-01423

O-RING

38

702-15-52001

VALVE ASS'Y

39

01010-51070

BOLT

40

01643-31032

WASHER

|$43

207-60-31601

VALVE ASS'Y

|$44

207-60-31600

VALVE ASS'Y

41

207-62-32670

TUBE

42

207-60-31250

POPPET

43

01640-22540

WASHER

44

209-60-52320

SPRING

44

130-60-12162

SPRING

45

07000-02060

O-RING

46

207-62-31590

FLANGE

47

01010-51230

BOLT

48

01643-31232

WASHER

49

07221-20315

NUT

50

07222-00312

PLUG

Выбрано товаров: 0