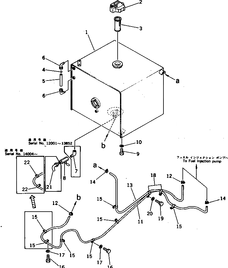
Запчасти Komatsu PC300-3 ТОПЛИВН. БАК. (С АНТИВАНДАЛЬН.) КОМПОНЕНТЫ ДВИГАТЕЛЯ И ЭЛЕКТРИКА

Схема запчастей Komatsu PC300-3 - ТОПЛИВН. БАК. (С АНТИВАНДАЛЬН.) КОМПОНЕНТЫ ДВИГАТЕЛЯ И ЭЛЕКТРИКА
FIT
1:1
100%

Артикул

Название

Примечание

Количество

|1

207-04-00031

FUEL TANK ASS'Y

|1

207-04-00030

FUEL TANK ASS'Y

1

TANK

|1

TANK

2

07091-21200

CAP

|2

07091-11200

CAP

3

07056-18416

STRAINER

4

208-04-19160

BALL,FLOAT

5

203-60-31160

TUBE

6

208-04-19130

ELBOW

7

07323-30200

ELBOW

8

07700-40240

VALVE

9

01010-51635

BOLT

10

01643-31645

WASHER

11

07288-01038

HOSE

|11

07288-01037

HOSE

12

07281-00197

CLAMP

13

07288-01023

HOSE

|13

07288-01025

HOSE

14

07281-00197

CLAMP

15

08036-01814

CLIP

|15

08036-01814

CLIP

16

01010-51225

BOLT

17

01643-31232

WASHER

18

209-06-12190

CLIP

19

01010-51225

BOLT

20

01643-31232

WASHER

21

207-04-31120

TUBE

22

208-06-12120

CLIP

Выбрано товаров: 29