Запчасти Komatsu PC300-3 СЕРВОКЛАПАН¤ ПЕРЕДН. (/) (С -STAGE SELECTOR MODE OLSS) УПРАВЛ-Е РАБОЧИМ ОБОРУДОВАНИЕМ

Схема запчастей Komatsu PC300-3 - СЕРВОКЛАПАН¤ ПЕРЕДН. (/) (С -STAGE SELECTOR MODE OLSS) УПРАВЛ-Е РАБОЧИМ ОБОРУДОВАНИЕМ
FIT
1:1
100%

Артикул

Название

Примечание

Количество

|1

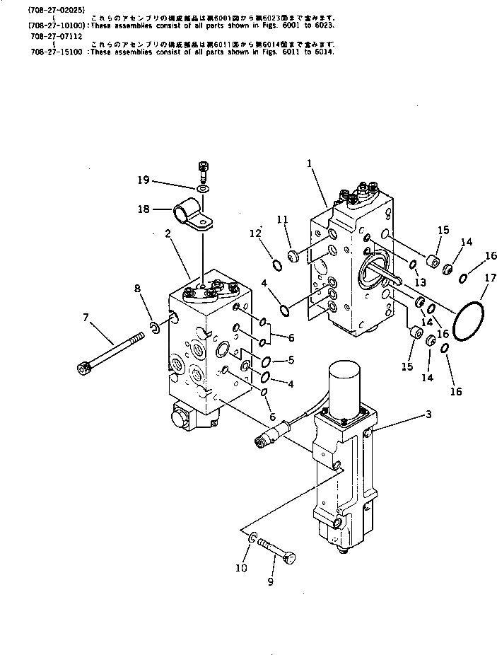
708-27-02015

HYDRAULIC PUMP ASS'Y,(HPV 160+160)

|1

708-27-02014

HYDRAULIC PUMP ASS'Y,(HPV 160+160)

|1

708-27-02013

HYDRAULIC PUMP ASS'Y,(HPV 160+160)

|1

708-27-02012

HYDRAULIC PUMP ASS'Y,(HPV 160+160)

|1

708-27-02011

HYDRAULIC PUMP ASS'Y,(HPV 160+160)

|1

708-27-02010

HYDRAULIC PUMP ASS'Y,(HPV 160+160)

|1

708-27-10100

PUMP ASS'Y,(HPV 160+160)

|1

708-27-07112

SERVO VALVE ASS'Y,FRONT

|1

708-27-07111

SERVO VALVE ASS'Y,FRONT

|1

708-27-07110

SERVO VALVE ASS'Y,FRONT

|1

708-27-15100

SERVO VALVE ASS'Y,FRONT

1

708-27-15200

SERVO VALVE SUB A.

2

708-27-07511

VALVE ASS'Y

|2

708-27-07510

VALVE ASS'Y

|2

708-27-17100

VALVE ASS'Y

3

708-27-07710

VALVE ASS'Y

|3

708-27-18100

VALVE ASS'Y

4

07000-02011

O-RING

5

07000-02018

O-RING

6

07000-11009

O-RING

7

708-25-19160

BOLT

8

01602-20825

WASHER

9

708-25-18130

BOLT

|9

708-25-19130

BOLT

|9

01252-30850

BOLT

10

01602-20825

WASHER

11

720-68-11920

FILTER

12

07000-12010

O-RING

13

07000-11009

O-RING

14

720-68-11920

FILTER

15

708-25-19150

ORIFICE

16

07000-12010

O-RING

17

07000-03048

O-RING

18

08036-21814

CLIP

19

01643-30823

WASHER

Выбрано товаров: 0