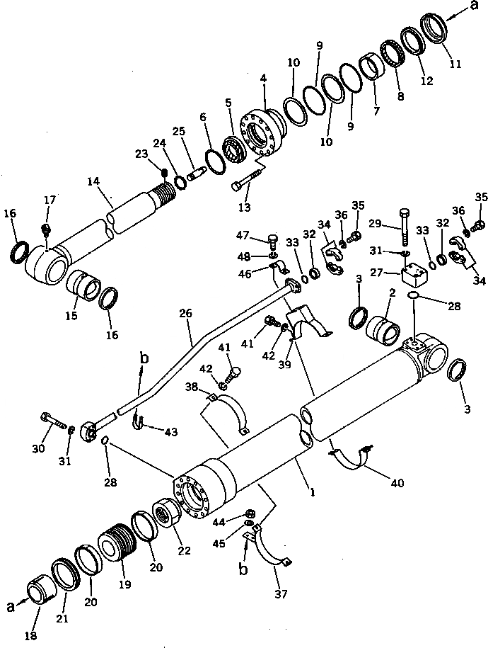
Запчасти Komatsu PC300-3 ЦИЛИНДР РУКОЯТИ УПРАВЛ-Е РАБОЧИМ ОБОРУДОВАНИЕМ

Схема запчастей Komatsu PC300-3 - ЦИЛИНДР РУКОЯТИ УПРАВЛ-Е РАБОЧИМ ОБОРУДОВАНИЕМ
FIT
1:1
100%

Артикул

Название

Примечание

Количество

|1

207-63-62101

ARM CYLINDER ASS'Y

1

207-63-62140

CYLINDER

2

707-76-10130

BUSHING

3

07145-00100

SEAL,DUST

4

707-28-16370

HEAD,CYLINDER

5

198-63-94170

SEAL,DUST

6

707-75-11010

RING,SNAP

7

07177-01140

BUSHING

8

707-51-11110

PACKING,ROD

9

07000-15155

O-RING

10

707-35-91650

RING,BACK-UP

11

707-71-31140

COLLAR

12

707-71-11150

RING

13

01010-52470

BOLT

14

207-63-62121

ROD,PISTON

15

707-76-10130

BUSHING

16

07145-00100

SEAL,DUST

17

07020-00900

FITTING,GREASE

18

707-71-51140

PLUNGER

19

707-36-16371

PISTON

20

07156-01620

RING,WEAR

21

707-44-16080

RING,PISTON

22

07165-18583

NUT

23

707-71-91250

SCREW

24

04260-00635

BALL

25

707-71-50261

PLUNGER

26

207-63-62170

TUBE

27

20D-62-17860

ELBOW

28

07000-13035

O-RING

29

01010-51070

BOLT

30

01010-51060

BOLT

31

01602-21030

WASHER,SPRING

32

07378-11000

HEAD

33

07000-13032

O-RING

34

07371-31049

FLANGE,SPLIT

35

07372-21030

BOLT

36

01602-21030

WASHER,SPRING

37

707-88-99641

BAND

38

707-88-99501

BAND

39

707-88-99541

BAND

40

707-88-99741

BAND

41

01010-51240

BOLT

42

01602-21236

WASHER,SPRING

43

07283-23442

CLIP

44

01599-01011

NUT

45

01643-31032

WASHER

46

07282-03411

CLAMP

47

01010-51025

BOLT

48

01602-21030

WASHER,SPRING

Выбрано товаров: 49