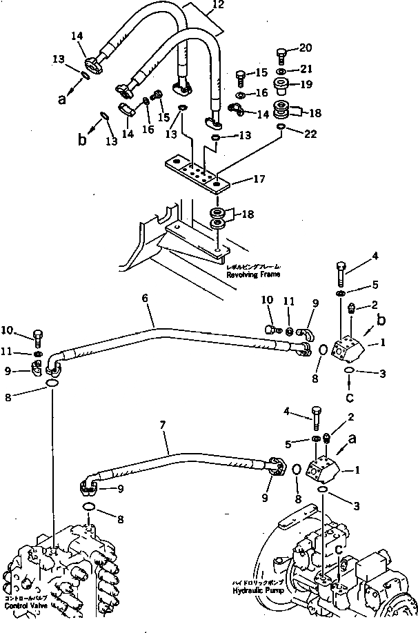
Запчасти Komatsu PC300-3 ГИДРОЛИНИЯ (НАСОС - УПРАВЛЯЮЩ. КЛАПАН) УПРАВЛ-Е РАБОЧИМ ОБОРУДОВАНИЕМ

Схема запчастей Komatsu PC300-3 - ГИДРОЛИНИЯ (НАСОС - УПРАВЛЯЮЩ. КЛАПАН) УПРАВЛ-Е РАБОЧИМ ОБОРУДОВАНИЕМ
FIT
1:1
100%

Артикул

Название

Примечание

Количество

1

207-62-31261

TEE

2

07042-30108

PLUG

3

21T-09-11470

O-RING

4

01010-51085

BOLT

|4

207-62-13280

BOLT

5

01643-31032

WASHER

|5

01643-51032

WASHER

6

207-62-31110

HOSE

7

207-62-31120

HOSE

8

21T-09-11460

O-RING

9

07371-31049

FLANGE,SPLIT

10

07372-21035

BOLT

11

01643-51032

WASHER

12

07099-01010

HOSE

13

21T-09-11460

O-RING

14

07371-31049

FLANGE,SPLIT

15

07372-21035

BOLT

16

01643-51032

WASHER

17

207-62-31271

PLATE

18

205-62-83140

CUSHION

19

207-62-31281

COLLAR

20

01010-51280

BOLT

21

01643-31232

WASHER

22

07000-03022

O-RING

Выбрано товаров: 0