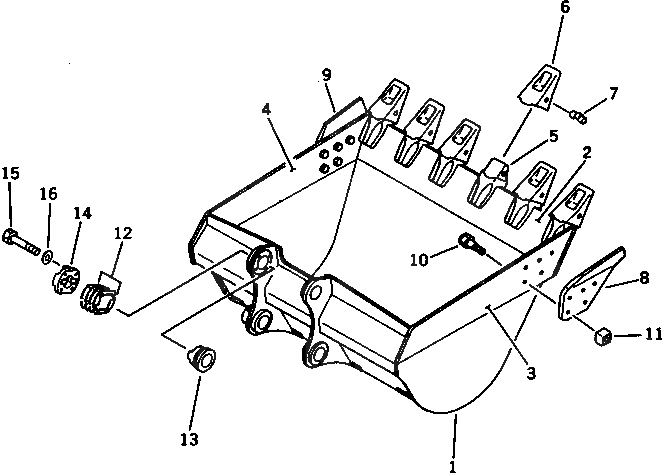
Запчасти Komatsu PC300-3 КОВШ¤ .M.¤ ШИР. 7MM (ГОРИЗОНТАЛЬН. ПАЛЕЦ) РАБОЧЕЕ ОБОРУДОВАНИЕ

Схема запчастей Komatsu PC300-3 - КОВШ¤ .M.¤ ШИР. 7MM (ГОРИЗОНТАЛЬН. ПАЛЕЦ) РАБОЧЕЕ ОБОРУДОВАНИЕ
FIT
1:1
100%

Артикул

Название

Примечание

Количество

1

207-920-3310

BUCKET

2

207-920-3120

PLATE (WELDED)

3

207-70-34120

PLATE,L.H. (WELDED)

4

207-70-34130

PLATE,R.H. (WELDED)

5

207-939-3120

ADAPTER (WELDED)

6

207-70-14151

TOOTH

7

09244-02516

PIN

8

207-70-34161

CUTTER,L.H.

|8

207-70-34160

CUTTER,L.H.

9

207-70-34171

CUTTER,R.H.

|9

207-70-34170

CUTTER,R.H.

10

195-32-11210

BOLT¤ SHOE

11

195-32-11221

NUT¤ SHOE

12

207-70-00060

SHIM ASS'Y

|12

SHIM¤ 0.5MM

|12

SHIM¤ 1.0MM

13

207-70-34230

BUSHING

14

207-70-34240

COVER

15

01010-52065

BOLT

16

01643-32060

WASHER

Выбрано товаров: 20