Запчасти Komatsu PC300-3 ПЕДАЛЬ УПРАВЛ-Я (С ДОПОЛН. ГИДРОЛИНИЕЙ) ОПЦИОННЫЕ КОМПОНЕНТЫ

Схема запчастей Komatsu PC300-3 - ПЕДАЛЬ УПРАВЛ-Я (С ДОПОЛН. ГИДРОЛИНИЕЙ) ОПЦИОННЫЕ КОМПОНЕНТЫ
FIT
1:1
100%

Артикул

Название

Примечание

Количество

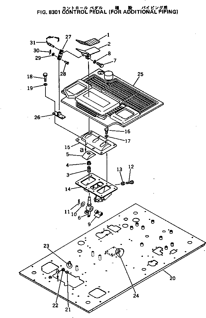
1

205-970-7240

SHEET

2

205-970-7231

PEDAL

3

09340-10130

SPRING

4

203-43-41660

SPACER

5

20S-43-11230

COVER

6

205-970-7251

LEVER

7

01010-50825

BOLT

8

01643-30823

WASHER

9

195-61-34130

BEARING

10

01640-02032

WASHER

11

04050-15030

PIN,COTTER

12

01016-51040

BOLT

13

01580-11008

NUT

14

205-970-7211

BRACKET

15

205-970-7220

COVER

16

01010-51235

BOLT

17

01643-31232

WASHER

18

01010-51016

BOLT

19

01643-31032

WASHER

20

207-970-3131

FRAME

|20

207-970-3130

FRAME

21

01572-21219

SEAT

22

01580-01210

NUT

23

205-970-7390

SEAT

24

207-970-3390

SEAT

25

205-970-7360

MAT,(FOR LONG LEVER CONTROL)

|25

205-970-7370

MAT,(FOR WRIST CONTROL)

26

207-970-3140

BRACKET

27

207-970-3150

YOKE

28

04205-10625

PIN

29

01641-20608

WASHER

30

04052-00633

PIN,SNAP

31

207-970-3160

CHAIN

Выбрано товаров: 33