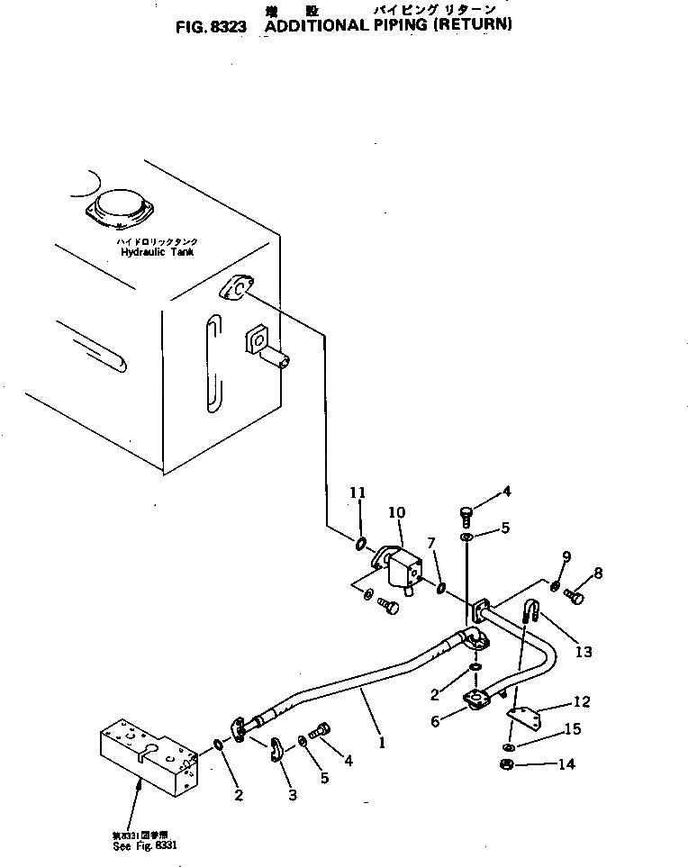
Запчасти Komatsu PC300-3 ДОПОЛН. ГИДРОЛИНИЯ (ВОЗВРАТ.) ОПЦИОННЫЕ КОМПОНЕНТЫ

Схема запчастей Komatsu PC300-3 - ДОПОЛН. ГИДРОЛИНИЯ (ВОЗВРАТ.) ОПЦИОННЫЕ КОМПОНЕНТЫ
FIT
1:1
100%

Артикул

Название

Примечание

Количество

1

07298-01207

HOSE

2

07000-13038

O-RING

3

07371-31255

FLANGE,SPLIT

4

07372-21040

BOLT

5

01643-51032

WASHER

6

207-970-3230

TUBE

7

07000-13038

O-RING

8

01010-51045

BOLT

9

01643-31032

WASHER

10

207-970-3240

TUBE

11

07000-02075

O-RING

12

207-970-3350

PLATE

13

07283-33442

CLIP

14

01599-01011

NUT

15

01643-31032

WASHER

Выбрано товаров: 15