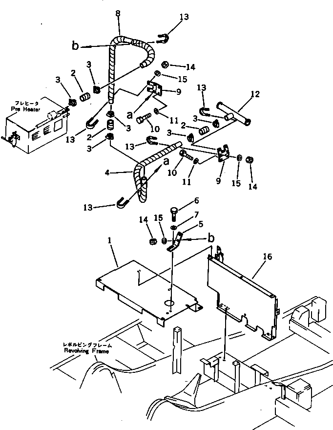
Запчасти Komatsu PC300-3 МОРОЗОУСТОЙЧИВ. СПЕЦ-Я (A) СПЕЦ-ЯIFICATIONS (/7) ОПЦИОННЫЕ КОМПОНЕНТЫ

Схема запчастей Komatsu PC300-3 - МОРОЗОУСТОЙЧИВ. СПЕЦ-Я (A) СПЕЦ-ЯIFICATIONS (/7) ОПЦИОННЫЕ КОМПОНЕНТЫ
FIT
1:1
100%

Артикул

Название

Примечание

Количество

1

207-977-3150

COVER

2

205-01-73190

TUBE

3

208-09-11110

CLAMP

4

207-977-3190

DUCT

5

207-977-3220

BRACKET

6

01010-51230

BOLT

7

01643-31232

WASHER

8

207-977-3180

DUCT

9

207-977-3230

BRACKET

10

01010-51230

BOLT

11

01643-31232

WASHER

12

207-977-3210

BRACKET

13

07283-24949

CLIP

14

01643-31032

WASHER

15

01582-11008

NUT

16

207-977-3160

COVER

Выбрано товаров: 16