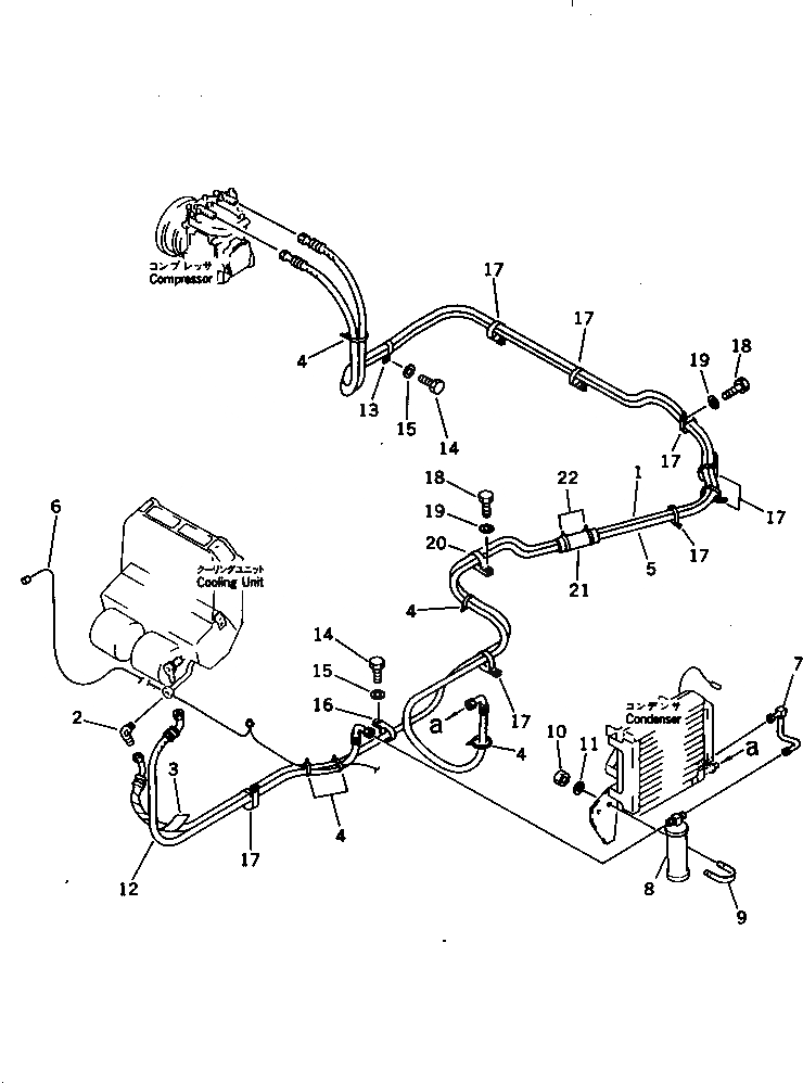
Запчасти Komatsu PC300-3 CAR ЛИНИЯ ОХЛАЖДЕНИЯ (/) ОПЦИОННЫЕ КОМПОНЕНТЫ

Схема запчастей Komatsu PC300-3 - CAR ЛИНИЯ ОХЛАЖДЕНИЯ (/) ОПЦИОННЫЕ КОМПОНЕНТЫ
FIT
1:1
100%

Артикул

Название

Примечание

Количество

1

207-978-3350

HOSE

2

205-981-5250

ELBOW

3

566-07-11450

TAPE

4

08034-00823

BAND

5

09488-20658

HOSE

6

205-978-7260

WIRE ASS'Y

7

207-978-3182

TUBE

8

566-07-11240

RECEIVER

9

07283-26155

CLIP

10

01599-01011

NUT

11

01643-31032

WASHER

12

207-978-3340

HOSE

13

145-01-42120

CLIP

14

01010-51225

BOLT

15

01643-31232

WASHER

16

23T-62-12160

CLIP

17

21T-06-11950

CLIP

18

01010-51225

BOLT

19

01643-31232

WASHER

20

08036-02514

CLIP

21

205-62-53780

COVER

22

08034-00823

BAND

Выбрано товаров: 22