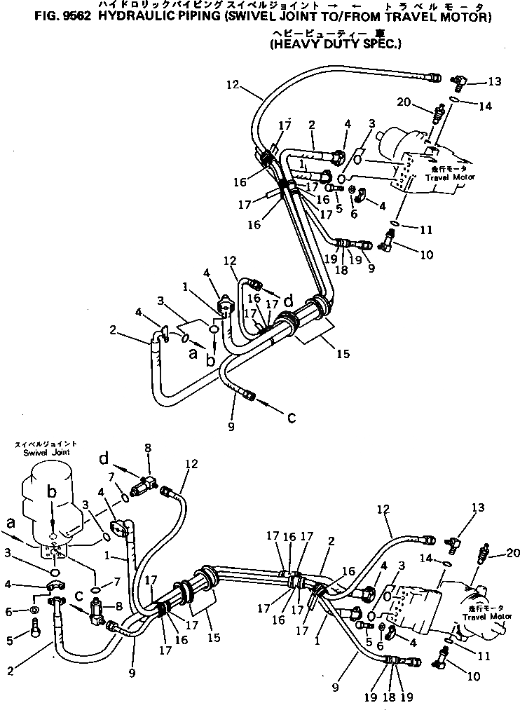
Запчасти Komatsu PC300-3 ГИДРОЛИНИЯ (ПОВОРОТНОЕ СОЕДИНЕНИЕ TO/FROM МОТОР ХОДА) (УСИЛ. СПЕЦ-Я.) СПЕЦ. APPLICATION ЧАСТИ¤ МАРКИРОВКА¤ ИНСТРУМЕНТ И РЕМКОМПЛЕКТЫ

Схема запчастей Komatsu PC300-3 - ГИДРОЛИНИЯ (ПОВОРОТНОЕ СОЕДИНЕНИЕ TO/FROM МОТОР ХОДА) (УСИЛ. СПЕЦ-Я.) СПЕЦ. APPLICATION ЧАСТИ¤ МАРКИРОВКА¤ ИНСТРУМЕНТ И РЕМКОМПЛЕКТЫ
FIT
1:1
100%

Артикул

Название

Примечание

Количество

1

07098-01023

HOSE

2

07098-01025

HOSE

3

07000-13032

O-RING

4

07371-31049

FLANGE,SPLIT

5

07372-21035

BOLT

6

01643-51032

WASHER

7

07002-02034

O-RING

8

205-62-72121

TEE

9

07102-20325

HOSE

10

208-62-33160

ELBOW

11

07002-02434

O-RING

12

07102-20327

HOSE

13

07235-10315

ELBOW

14

07002-02034

O-RING

15

208-62-33141

GROMMET

16

205-62-53780

COVER,HOSE

17

08034-00536

BAND

18

205-62-72140

COVER,HOSE

19

08034-00536

BAND

20

20B-27-11210

BLEEDER

Выбрано товаров: 20