Запчасти Komatsu PC300-3 МОТОР ХОДА (/) ХОД И КОНЕЧНАЯ ПЕРЕДАЧА

Схема запчастей Komatsu PC300-3 - МОТОР ХОДА (/) ХОД И КОНЕЧНАЯ ПЕРЕДАЧА
FIT
1:1
100%

Артикул

Название

Примечание

Количество

|1

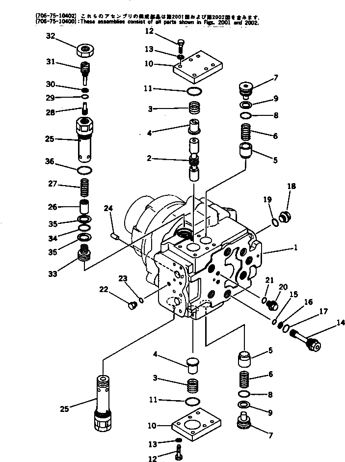
706-75-10402

TRAVEL MOTOR ASS'Y

1

706-75-10400

TRAVEL MOTOR ASS'Y

|1

706-75-00030

HOUSING SUB ASS'Y

|1

HOUSING

2

SPOOL

3

706-75-74190

SPRING

4

706-75-74161

RETAINER

5

706-75-74231

VALVE

6

706-75-74240

SPRING

7

706-75-74261

SEAT

8

07000-13022

O-RING

9

07001-03022

RING,BACK-UP

10

706-75-74220

PLATE

11

07000-13040

O-RING

12

01010-51035

BOLT

13

01602-21030

WASHER,SPRING

14

706-75-74420

PLUG

15

07000-12011

O-RING

16

07001-02011

RING,BACK-UP

17

07002-12034

O-RING

18

706-77-72170

PLUG

19

07002-12434

O-RING

20

706-73-71450

PLUG

21

07002-11423

O-RING

22

706-75-71420

PLUG

23

07002-10823

O-RING

24

PIN,DOWEL

|25

706-75-85401

RELIEF VALVE ASS'Y

25

SLEEVE

26

VALVE

27

SPRING

28

PISTON

29

O-RING

30

RING,BACK-UP

31

SCREW

32

NUT

33

SEAT,VALVE

34

07000-22020

O-RING

35

07001-02020

RING,BACK-UP

36

07002-13034

O-RING

Выбрано товаров: 40