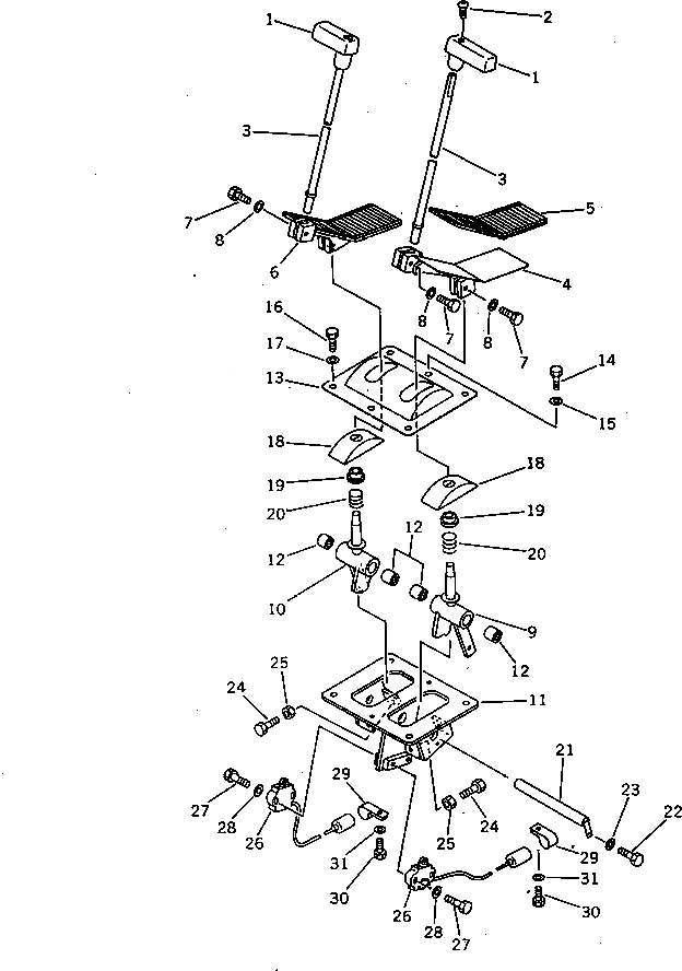
Запчасти Komatsu PC300-3 РЫЧАГ УПРАВЛ-Я ХОДОМ (/) (ДЛЯ WRIST УПРАВЛ-Е) (С АВТОМАТИЧ. DECELERTION)(№-) ХОД И КОНЕЧНАЯ ПЕРЕДАЧА

Схема запчастей Komatsu PC300-3 - РЫЧАГ УПРАВЛ-Я ХОДОМ (/) (ДЛЯ WRIST УПРАВЛ-Е) (С АВТОМАТИЧ. DECELERTION)(№-) ХОД И КОНЕЧНАЯ ПЕРЕДАЧА
FIT
1:1
100%

Артикул

Название

Примечание

Количество

1

203-43-41340

KNOB

2

207-09-11130

SCREW

3

205-43-71871

LEVER

4

205-43-71882

PEDAL,L.H.

5

205-43-71911

CAP,PEDAL

6

205-43-71892

PEDAL,R.H.

7

01010-50825

BOLT

8

01643-30823

WASHER

9

205-43-71472

LEVER,L.H.

10

205-43-73270

LEVER,R.H.

11

205-43-71463

BRACKET

12

195-61-34130

BEARING

13

205-43-71590

COVER

14

01010-51016

BOLT

15

01643-31032

WASHER

16

01010-51235

BOLT

17

01643-31232

WASHER

18

20S-43-11230

COVER

19

203-43-41660

SPACER

20

09340-10130

SPRING

21

205-43-73280

SHAFT

22

01010-50616

BOLT

23

01643-30623

WASHER

24

01016-51040

BOLT

25

01580-11008

NUT

26

22W-06-15860

SWITCH

27

01010-51030

BOLT

28

01643-31032

WASHER

29

08036-01814

CLIP

30

01010-51220

BOLT

31

01643-31232

WASHER

Выбрано товаров: 0