Запчасти Komatsu PC300-3 ПОВОРОТН. КРУГ(№-) ПОВОРОТН. И СИСТЕМА УПРАВЛЕНИЯ

Схема запчастей Komatsu PC300-3 - ПОВОРОТН. КРУГ(№-) ПОВОРОТН. И СИСТЕМА УПРАВЛЕНИЯ
FIT
1:1
100%

Артикул

Название

Примечание

Количество

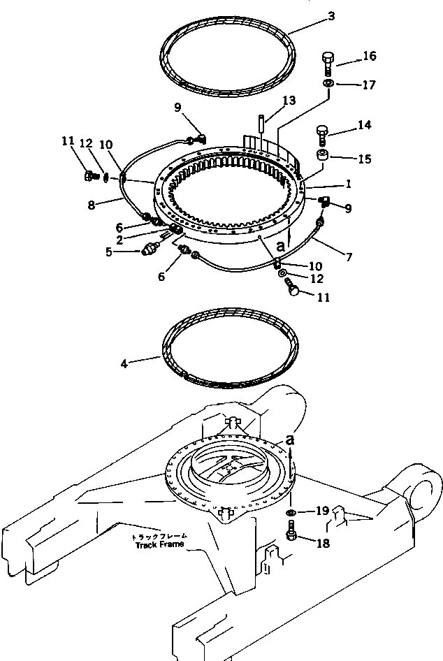
|1

207-25-00022

SWING CIRCLE ASS'Y

1

207-25-31112

CIRCLE,SWING

2

NIPPLE

3

207-25-31120

SEAL

4

207-25-31130

SEAL

5

07020-00000

FITTING,GREASE

6

07213-50813

CONNECTOR

7

207-25-31152

TUBE

8

207-25-31162

TUBE

9

207-70-11740

ELBOW

10

08036-00814

CLIP

11

01010-51020

BOLT

12

01643-31032

WASHER

13

04020-01842

PIN,DOWEL

14

208-25-11130

BOLT

15

207-25-31170

SPACER

16

207-25-31190

BOLT

17

01643-32460

WASHER

18

207-25-31180

BOLT

19

01643-32460

WASHER

Выбрано товаров: 20