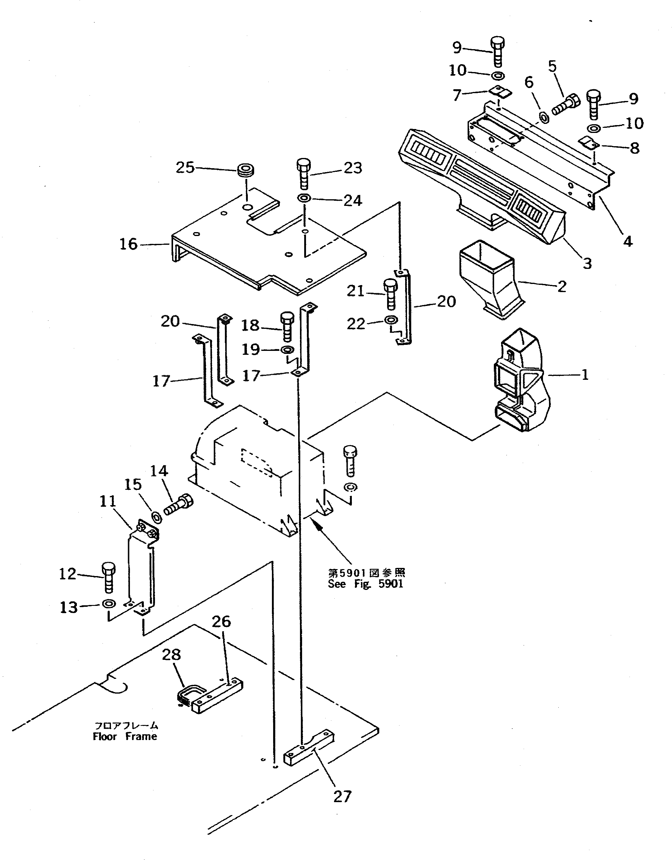
Запчасти Komatsu PC300-5 КОМПОНЕНТЫ КОНДИЦИОНЕРА(№-9) ЧАСТИ КОРПУСА

Схема запчастей Komatsu PC300-5 - КОМПОНЕНТЫ КОНДИЦИОНЕРА(№-9) ЧАСТИ КОРПУСА
FIT
1:1
100%

Артикул

Название

Примечание

Количество

G-1

207-979-X110

AIR CONDITIONER G.

1

205-979-6120

DUCT

2

205-979-6140

DUCT

3

205-979-6130

DUCT

4

20Y-979-1360

BRACKET

5

01010-50812

BOLT

6

01643-30823

WASHER

7

20Y-979-1320

PLATE

8

20Y-979-1370

PLATE

9

01010-50812

BOLT

10

01643-30823

WASHER

11

20Y-979-1440

COVER

12

01010-51025

BOLT

13

01643-31032

WASHER

14

01010-51025

BOLT

15

01643-31032

WASHER

16

20Y-979-1410

COVER

17

20Y-979-1450

BRACKET

18

01010-51225

BOLT

19

01643-31232

WASHER

20

20Y-979-1390

BRACKET

21

01010-51020

BOLT

22

01643-31032

WASHER

23

01010-51020

BOLT

24

01643-31032

WASHER

25

08037-02512

GROMMET

26

20Y-979-1340

SEAT (WELDED)

27

20Y-979-1350

SEAT (WELDED)

28

207-979-5170

GROMMET (BONDED)

Выбрано товаров: 29