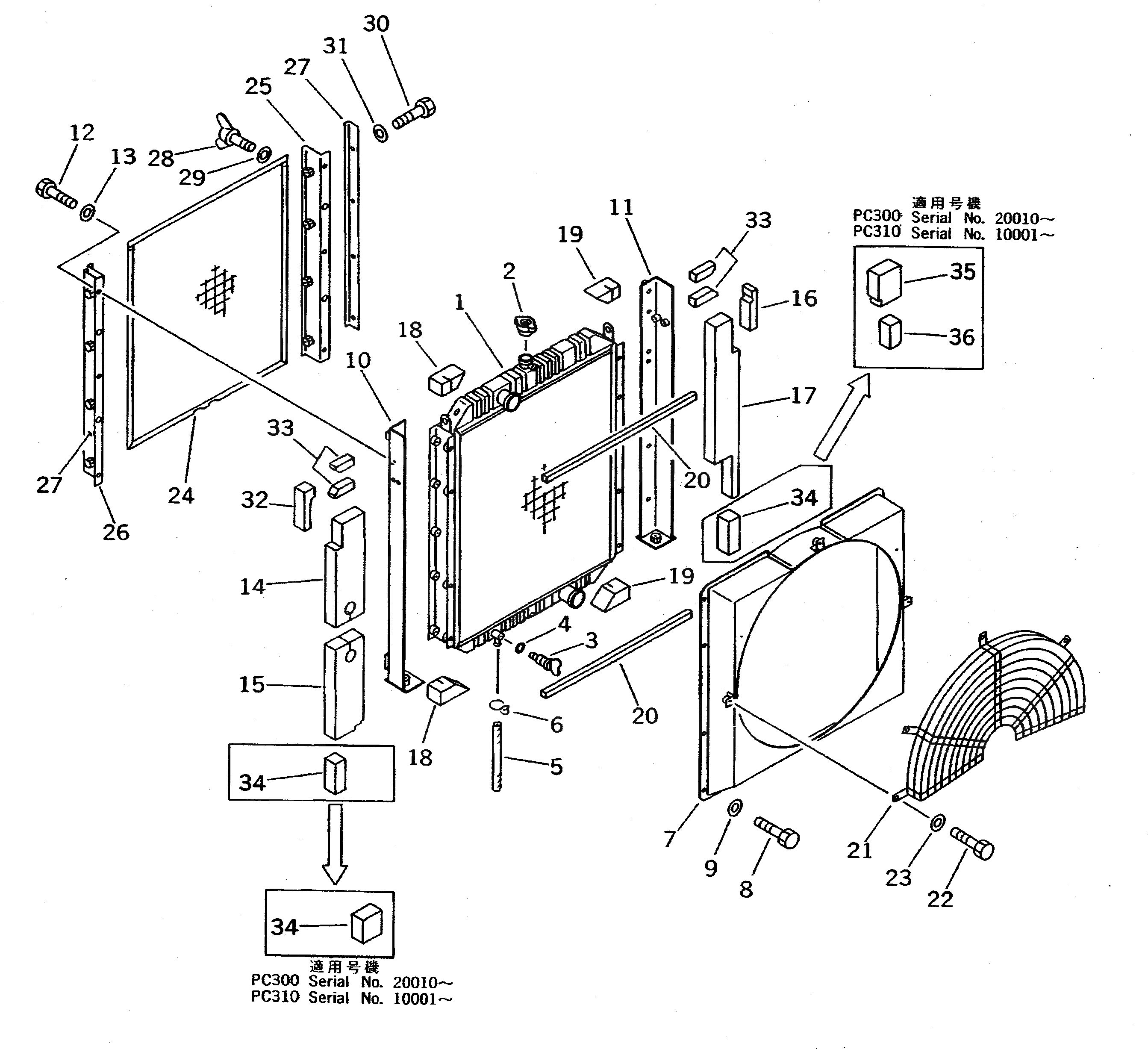
Запчасти Komatsu PC300-5 РАДИАТОР(№-) КОМПОНЕНТЫ ДВИГАТЕЛЯ И ЭЛЕКТРИКА

Схема запчастей Komatsu PC300-5 - РАДИАТОР(№-) КОМПОНЕНТЫ ДВИГАТЕЛЯ И ЭЛЕКТРИКА
FIT
1:1
100%

Артикул

Название

Примечание

Количество

1

207-03-51111

CORE ASS'Y

1

207-03-51110

CORE ASS'Y

2

205-03-71280

CAP ASS'Y

3

205-03-62660

PLUG

4

07000-01007

O-RING

5

205-03-71230

HOSE

6

20Y-03-11330

CLIP

7

207-03-51130

SHROUD

8

01010-51225

BOLT

9

01643-31232

WASHER

10

207-03-51160

FRAME

11

207-03-51150

FRAME

12

01010-51225

BOLT

13

01643-31232

WASHER

14

207-03-51321

SEAL

15

207-03-51331

SEAL

16

207-03-51341

SEAL

17

207-03-51311

SEAL

18

207-03-51171

SEAL

19

207-03-51181

SEAL

20

207-03-51191

SHEET

21

207-03-51540

GUARD

22

01010-51225

BOLT

23

01643-31232

WASHER

24

208-03-52271

NET

25

207-03-51511

BRACKET

26

207-03-51521

BRACKET

27

208-03-52290

BRACKET

28

01434-10620

BOLT, WING,WING

29

01643-30623

WASHER

30

01010-50812

BOLT

31

01643-30823

WASHER

32

207-03-51351

SEAL

33

207-03-51361

SEAL

34

207-03-51550

SEAL

34

208-03-51261

SEAL

35

207-03-51560

SEAL

36

207-03-51570

SEAL

Выбрано товаров: 38