Запчасти Komatsu PC300-5 ОСНОВНАЯ РАМА (С FOPS)(№-) СИСТЕМА УПРАВЛЕНИЯ И ОСНОВНАЯ РАМА

Схема запчастей Komatsu PC300-5 - ОСНОВНАЯ РАМА (С FOPS)(№-) СИСТЕМА УПРАВЛЕНИЯ И ОСНОВНАЯ РАМА
FIT
1:1
100%

Артикул

Название

Примечание

Количество

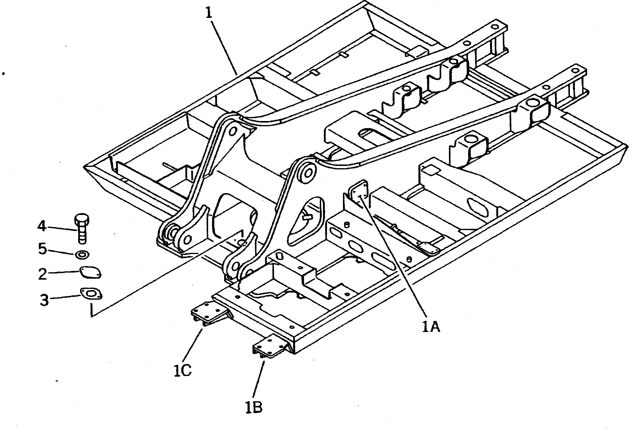
G-1

207-956-X210

FOPS GROUP

1

207-956-5220

FRAME

1A

207-970-5550

PLATE (WELDED)

1B

207-956-5132

BRACKET (WELDED)

1C

207-956-5142

BRACKET (WELDED)

2

205-30-71181

COVER

3

205-30-71191

GASKET

4

01010-51230

BOLT

5

01643-31232

WASHER

Выбрано товаров: 9