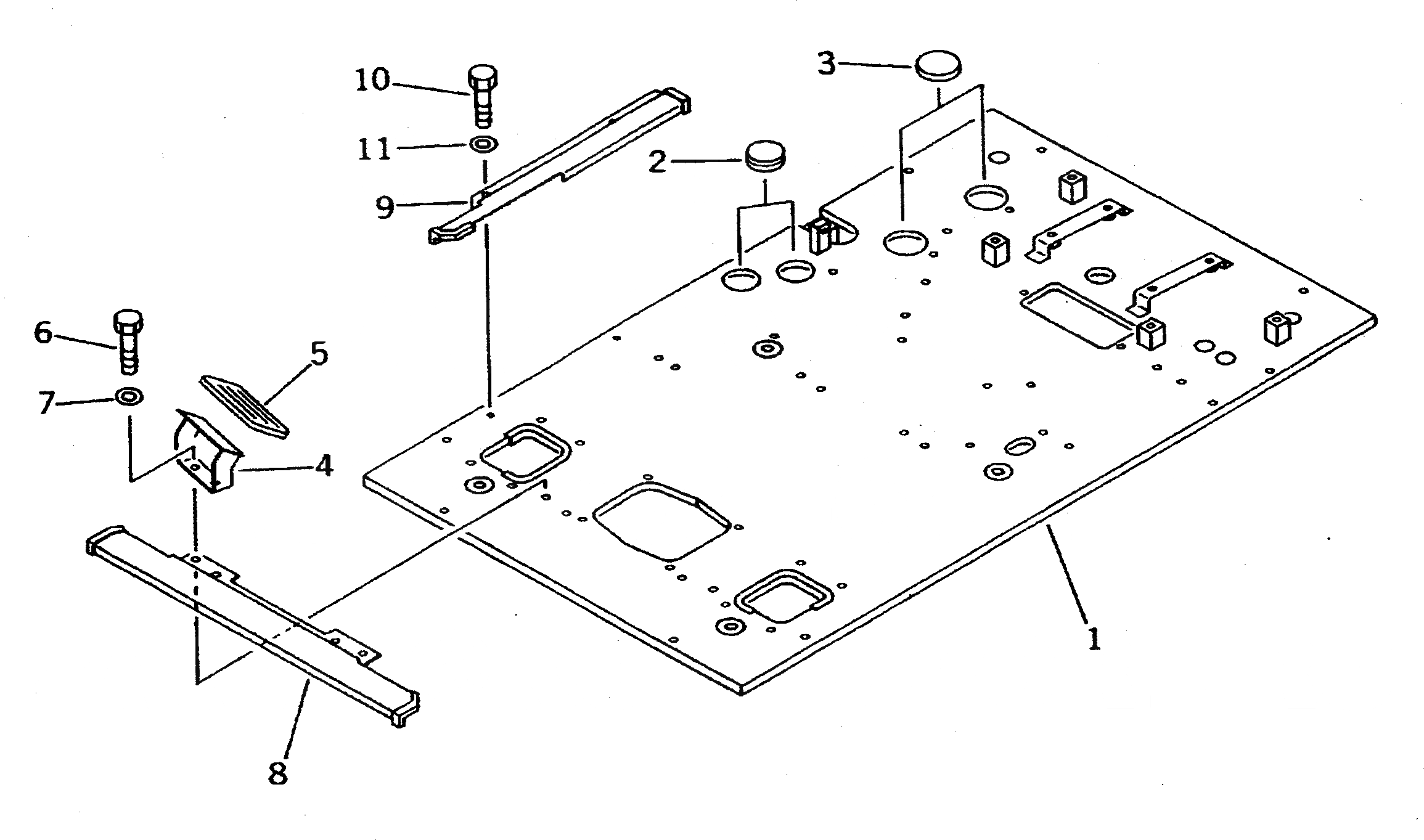
Запчасти Komatsu PC300-5 ОСНОВН. КОНСТРУКЦИЯ (ДЛЯ УДЛИНН. РЫЧАГ УПРАВЛ-Е)(№-) ЧАСТИ КОРПУСА

Схема запчастей Komatsu PC300-5 - ОСНОВН. КОНСТРУКЦИЯ (ДЛЯ УДЛИНН. РЫЧАГ УПРАВЛ-Е)(№-) ЧАСТИ КОРПУСА
FIT
1:1
100%

Артикул

Название

Примечание

Количество

1

207-54-53213

FRAME

2

09415-05022

CAP

3

207-54-53350

SHEET

4

203-43-51451

REST,FOOT

5

203-43-56450

CAP¤ PEDAL,PEDAL

6

01010-51025

BOLT

7

01643-31032

WASHER

8

20Y-06-15351

COVER

9

20Y-06-15510

COVER

10

01010-50816

BOLT

11

01643-30823

WASHER

Выбрано товаров: 0