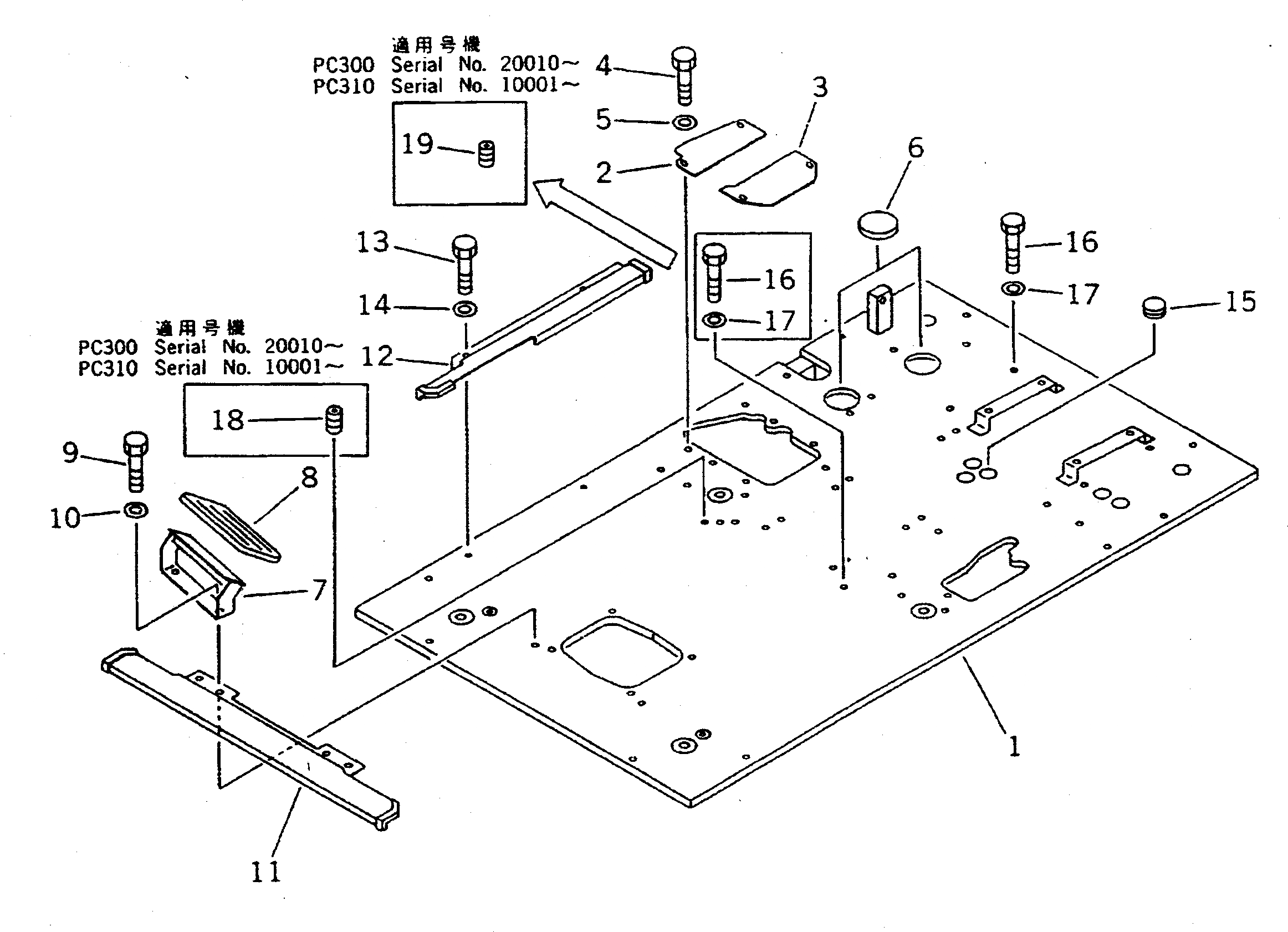
Запчасти Komatsu PC300-5 ОСНОВН. КОНСТРУКЦИЯ (ДЛЯ WRIST УПРАВЛ-Е)(№-9) ЧАСТИ КОРПУСА

Схема запчастей Komatsu PC300-5 - ОСНОВН. КОНСТРУКЦИЯ (ДЛЯ WRIST УПРАВЛ-Е)(№-9) ЧАСТИ КОРПУСА
FIT
1:1
100%

Артикул

Название

Примечание

Количество

G-1

207-54-X1200

FLOOR GROUP

1

207-54-53191

FRAME

2

207-54-53240

COVER

3

20Y-54-16561

PLATE

4

01010-51025

BOLT

5

01643-31032

WASHER

6

207-54-53350

SHEET

7

20Y-43-16421

REST,FOOT

8

20Y-43-16430

PAD

9

01010-51020

BOLT

10

01643-31032

WASHER

11

20Y-06-15351

COVER

12

20Y-06-15510

COVER

13

01010-50816

BOLT

14

01643-30823

WASHER

15

20Y-977-1120

CAP

16

01010-51220

BOLT

|16

01010-51220

BOLT

17

01643-31232

WASHER

|17

01643-31232

WASHER

18

01310-11212

SCREW

19

01310-11212

SCREW

Выбрано товаров: 22