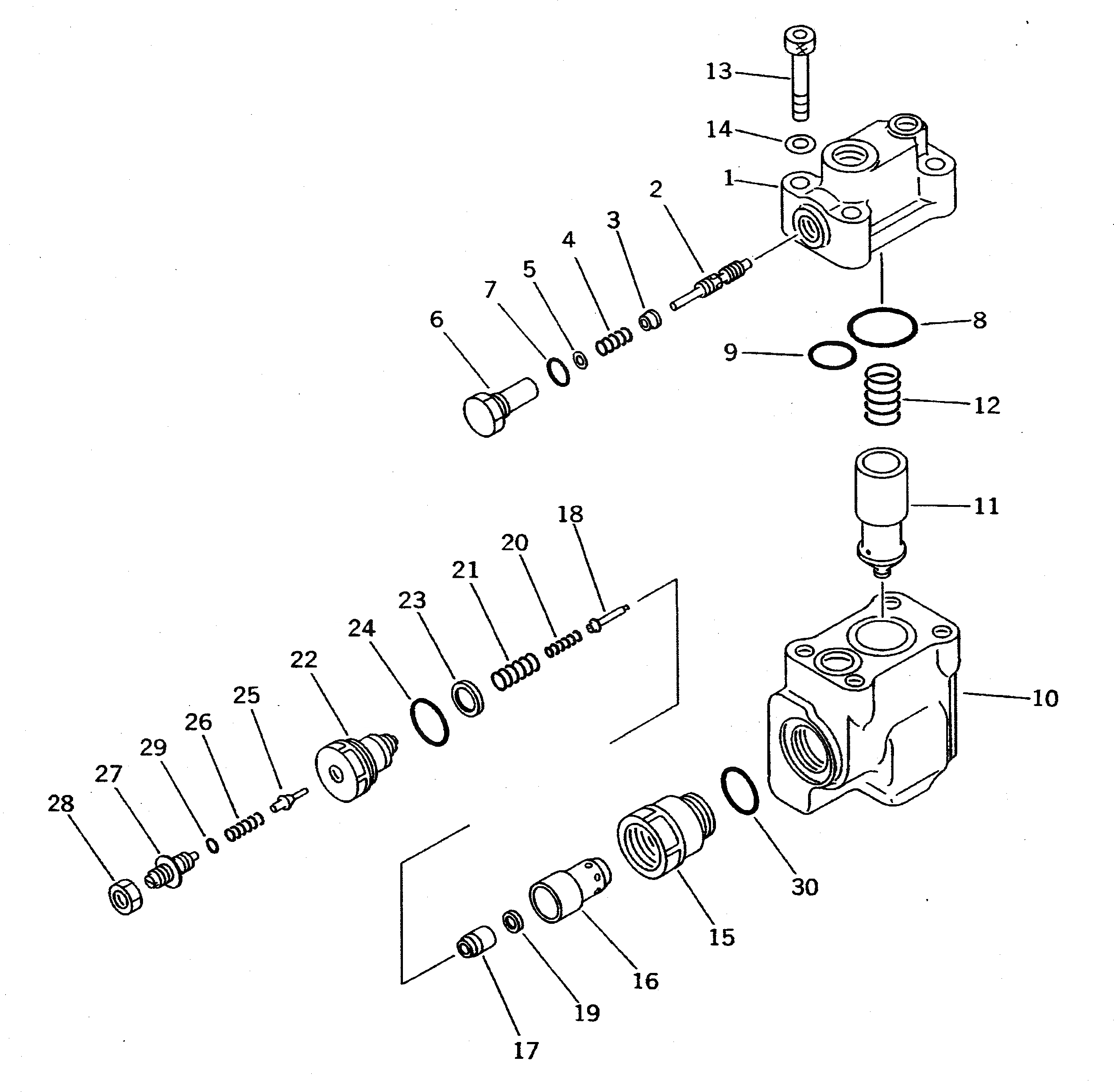
Запчасти Komatsu PC300-5 СТОПОРН. КЛАПАН УПРАВЛ-Е РАБОЧИМ ОБОРУДОВАНИЕМ

Схема запчастей Komatsu PC300-5 - СТОПОРН. КЛАПАН УПРАВЛ-Е РАБОЧИМ ОБОРУДОВАНИЕМ
FIT
1:1
100%

Артикул

Название

Примечание

Количество

|1

702-21-04601

VALVE ASS'Y

1

BODY

2

SPOOL

3

702-21-31350

SEAT

4

702-21-31231

SPRING

5

702-21-31360

SPACER

6

702-21-36230

PLUG

7

07002-01823

O-RING

8

07000-13042

O-RING

9

07000-03028

O-RING

10

702-21-36112

BODY

11

702-21-36123

VALVE,CHECK

12

702-21-36131

SPRING

13

702-21-36310

BOLT

14

01643-51232

WASHER

|15

709-90-71100

VALVE ASS'Y

15

709-90-71110

SLEEVE

16

SLEEVE

17

POPPET

18

PISTON

19

SEAL

20

709-70-71210

SPRING

21

709-90-71220

SPRING

22

PLUG

23

SEAL

24

07002-03634

O-RING

25

POPPET

26

SPRING

27

SCREW

28

NUT

29

O-RING

30

O-RING

Выбрано товаров: 32