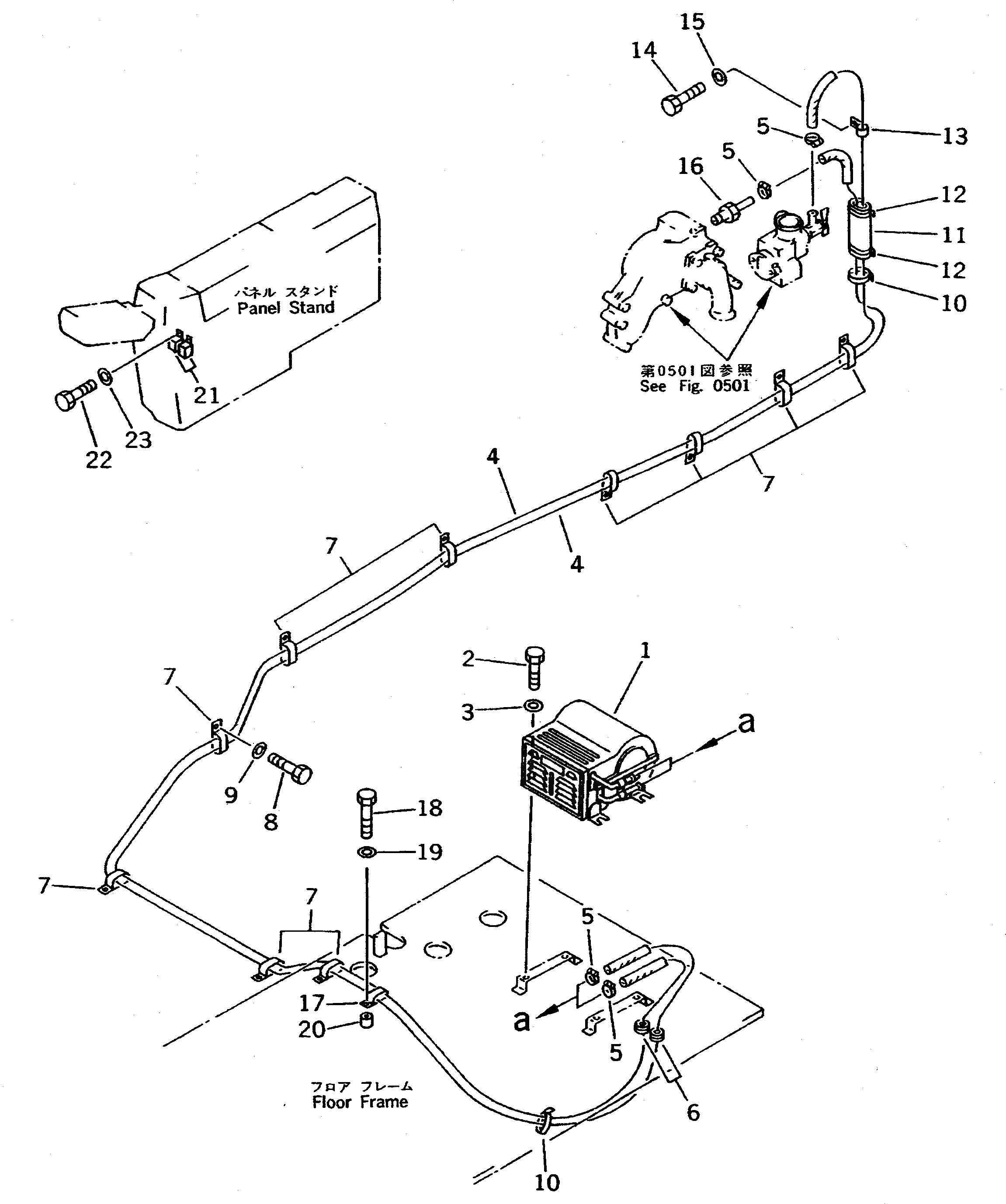
Запчасти Komatsu PC300-5C ОБОГРЕВАТЕЛЬ. И ТРУБЫ ЧАСТИ КОРПУСА

Схема запчастей Komatsu PC300-5C - ОБОГРЕВАТЕЛЬ. И ТРУБЫ ЧАСТИ КОРПУСА
FIT
1:1
100%

Артикул

Название

Примечание

Количество

1

205-977-7110

HEATER UNIT

2

01010-51020

BOLT

3

01643-31032

WASHER

4

09483-00461

HOSE

5

09480-10100

CLAMP

6

20Y-977-1130

GROMMET

7

141-06-11220

CLIP

8

01010-51225

BOLT

9

01643-31232

WASHER

10

08034-00519

BAND

11

205-62-53780

COVER

12

08034-00823

BAND

13

209-04-19140

CLIP

14

01010-51225

BOLT

15

01643-31232

WASHER

16

207-977-5110

NIPPLE

17

141-06-11220

CLIP

18

01010-51260

BOLT

19

01643-31232

WASHER

20

205-03-71331

COLLAR

21

22W-06-13450

RELAY ASS'Y

22

01010-50616

BOLT

23

01643-30623

WASHER

Выбрано товаров: 0