Запчасти Komatsu PC300-5C ПРЕДПУСК. ПОДОГРЕВ (/) (МОРОЗОУСТОЙЧИВ. СПЕЦ-Я (A) СПЕЦ-Я.) ЧАСТИ КОРПУСА

Схема запчастей Komatsu PC300-5C - ПРЕДПУСК. ПОДОГРЕВ (/) (МОРОЗОУСТОЙЧИВ. СПЕЦ-Я (A) СПЕЦ-Я.) ЧАСТИ КОРПУСА
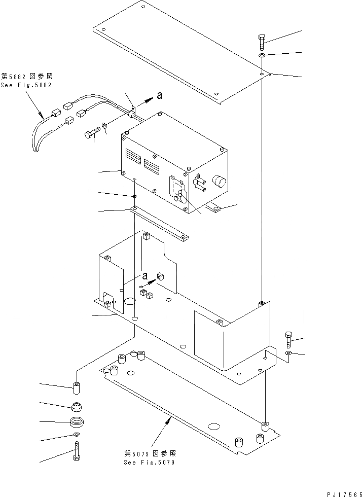
1
2
3
3
4
5
6
7
7A
8
9
10
11
12
13
14
15
16
17
FIT
1:1
100%

Артикул

Название

Примечание

Количество

1

20Y-977-1290

PRE HEATER ASS'Y

2

195-01-16140

SPACER

3

154-01-15120

CUSHION

4

195-01-16160

CUSHION

5

195-01-16130

COVER

6

01010-51060

BOLT

6

01010-51055

BOLT

7

01643-31032

WASHER

7A

20Y-54-12550

COLLAR

8

207-977-5210

COVER

9

01010-51230

BOLT

10

01643-31232

WASHER

11

207-977-5220

COVER

12

01010-51225

BOLT

13

01643-31232

WASHER

14

20Y-00-12690

PLATE

15

08036-10814

CLIP

16

01010-51225

BOLT

17

01643-31232

WASHER

Выбрано товаров: 19