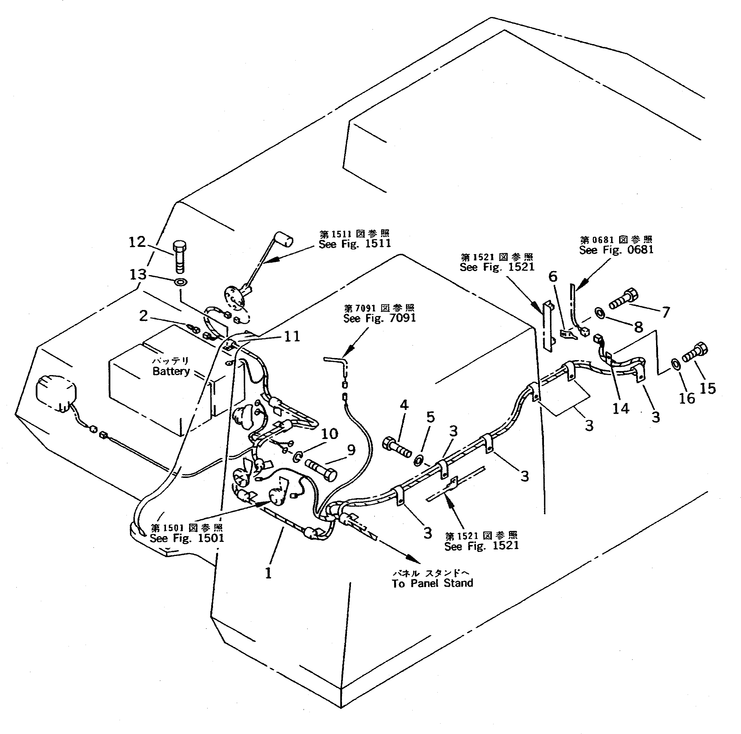
Запчасти Komatsu PC300-5C ЭЛЕКТРИКА (ЭЛЕКТРОПРОВОДКА) (КАБИНА - ДВИГАТЕЛЬ Э/ПРОВОДКА) КОМПОНЕНТЫ ДВИГАТЕЛЯ И ЭЛЕКТРИКА

Схема запчастей Komatsu PC300-5C - ЭЛЕКТРИКА (ЭЛЕКТРОПРОВОДКА) (КАБИНА - ДВИГАТЕЛЬ Э/ПРОВОДКА) КОМПОНЕНТЫ ДВИГАТЕЛЯ И ЭЛЕКТРИКА
FIT
1:1
100%

Артикул

Название

Примечание

Количество

1

207-06-52130

WIRING HARNESS

2

20Y-06-15150

FUSIBLE LINK

3

113-899-7950

CLIP

4

01010-51225

BOLT

5

01643-31232

WASHER

6

08053-00912

CLIP

7

01010-51220

BOLT

8

01643-31232

WASHER

9

01010-50816

BOLT

10

01602-20825

WASHER,SPRING

11

08036-01214

CLIP

12

01010-51225

BOLT

13

01643-31232

WASHER

14

08036-01814

CLIP

15

01010-51225

BOLT

16

01643-31232

WASHER

Выбрано товаров: 16