Запчасти Komatsu PC300-5C ПАНЕЛЬ СТОЙКА (ДЛЯ УДЛИНН. РЫЧАГ УПРАВЛ-Е)(№-) СИСТЕМА УПРАВЛЕНИЯ И ОСНОВНАЯ РАМА

Схема запчастей Komatsu PC300-5C - ПАНЕЛЬ СТОЙКА (ДЛЯ УДЛИНН. РЫЧАГ УПРАВЛ-Е)(№-) СИСТЕМА УПРАВЛЕНИЯ И ОСНОВНАЯ РАМА
FIT
1:1
100%

Артикул

Название

Примечание

Количество

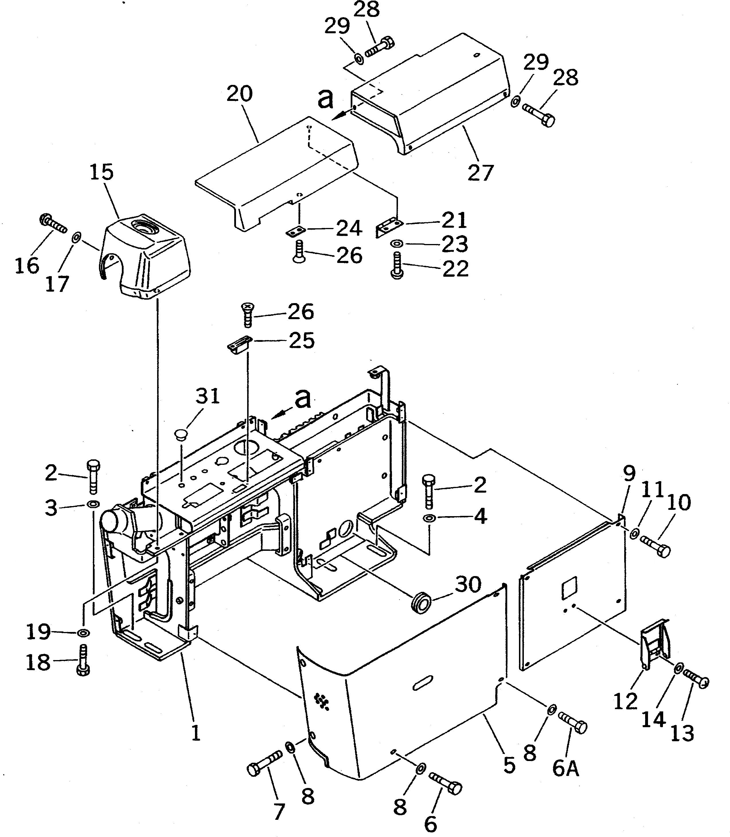
1

207-43-51240

BRACKET

2

01010-51225

BOLT

3

20Y-54-12670

WASHER

4

01643-31232

WASHER

5

208-43-51140

COVER

6

01010-50616

BOLT

6A

01010-50616

BOLT

7

20Y-43-15460

BOLT

8

01643-30623

WASHER

9

208-43-51130

COVER

10

01010-50616

BOLT

11

01643-30623

WASHER

12

20Y-43-16250

COVER

13

01220-40408

SCREW

14

01641-20405

WASHER

15

203-54-56521

COVER

16

01220-70616

SCREW

17

01642-40608

WASHER

18

01010-50612

BOLT

19

01642-20608

WASHER

20

203-54-56531

COVER

21

20Y-06-16350

HINGE

22

01220-70510

SCREW

23

01642-40508

WASHER

24

203-54-51550

PLATE

25

203-54-51540

MAGNET

26

01224-40306

SCREW

27

20Y-43-15281

COVER

28

01010-50616

BOLT

29

01643-30623

WASHER

30

08037-03614

GROMMET

31

203-06-56530

PLUG

Выбрано товаров: 32