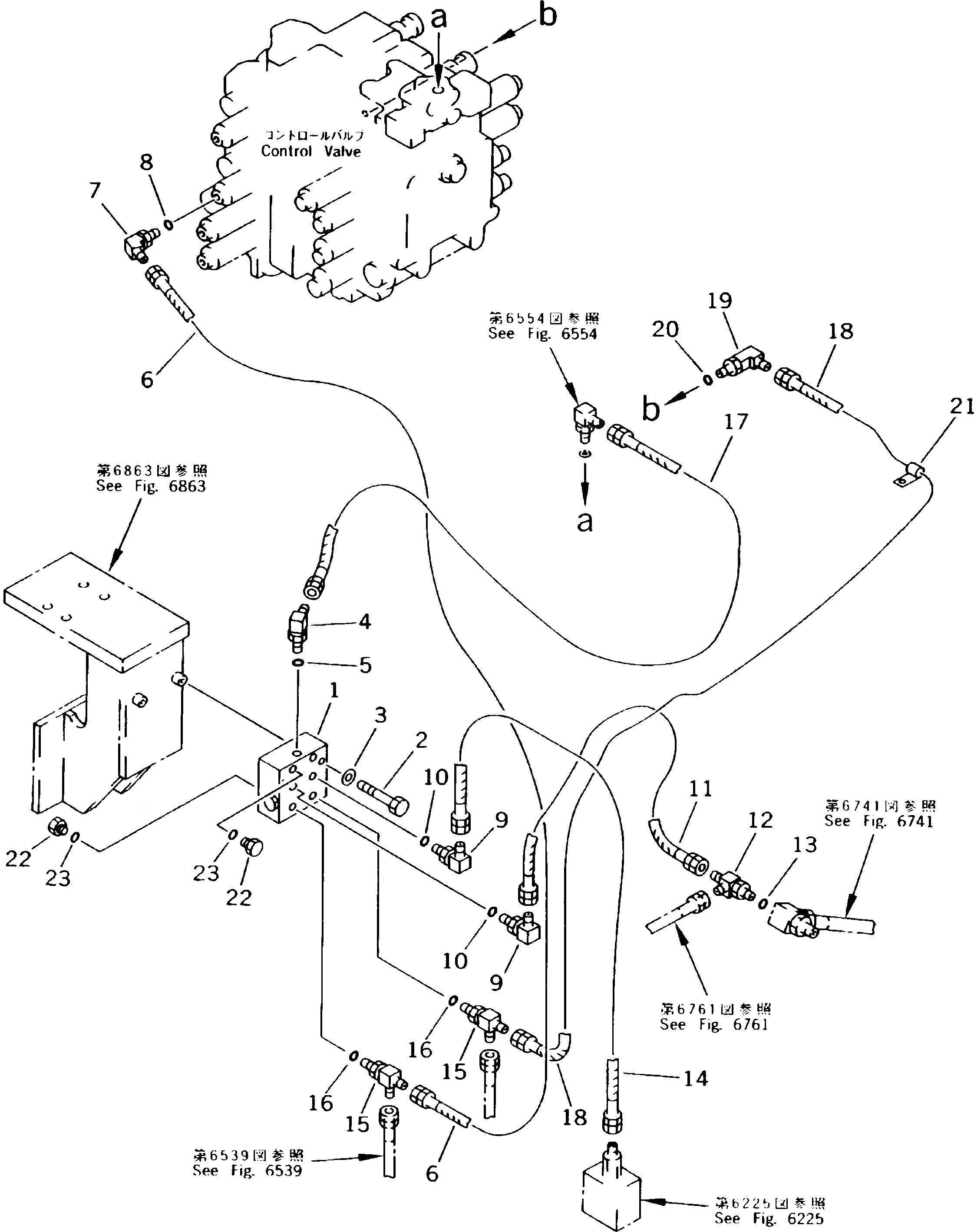
Запчасти Komatsu PC300-5K ГЛАВН. ТРУБЫ (РАСПРЕДЕЛИТ. КЛАПАН TO/FROM УПРАВЛЯЮЩ. КЛАПАН)(С ДОПОЛН. ГИДРОЛИНИЕЙ) УПРАВЛ-Е РАБОЧИМ ОБОРУДОВАНИЕМ

Схема запчастей Komatsu PC300-5K - ГЛАВН. ТРУБЫ (РАСПРЕДЕЛИТ. КЛАПАН TO/FROM УПРАВЛЯЮЩ. КЛАПАН) (С ДОПОЛН. ГИДРОЛИНИЕЙ) УПРАВЛ-Е РАБОЧИМ ОБОРУДОВАНИЕМ
FIT
1:1
100%

Артикул

Название

Примечание

Количество

1

702-19-12000

CHECK VALVE ASS'Y

2

01010-51065

BOLT

3

01643-31032

WASHER

4

207-62-33920

ELBOW

5

07002-01423

O-RING

6

20Y-62-17660

HOSE

7

208-62-18180

ELBOW

8

07002-02034

O-RING

9

207-62-33920

ELBOW

10

07002-01423

O-RING

11

20Y-62-17240

HOSE

12

207-62-53790

ELBOW

13

07002-01423

O-RING

14

20Y-62-17170

HOSE

15

21T-62-29960

TEE

16

07002-01423

O-RING

17

20Y-62-17360

HOSE¤ 2300MM

18

20Y-62-16260

HOSE

19

20R-62-11930

ELBOW

20

07002-02034

O-RING

21

170-04-11230

CLIP

22

07040-11409

PLUG

23

07002-01423

O-RING

Выбрано товаров: 0