Запчасти Komatsu PC300-5K КОРОТК. РУКОЯТЬ¤ .M РАБОЧЕЕ ОБОРУДОВАНИЕ

Схема запчастей Komatsu PC300-5K - КОРОТК. РУКОЯТЬ¤ .M РАБОЧЕЕ ОБОРУДОВАНИЕ
FIT
1:1
100%

Артикул

Название

Примечание

Количество

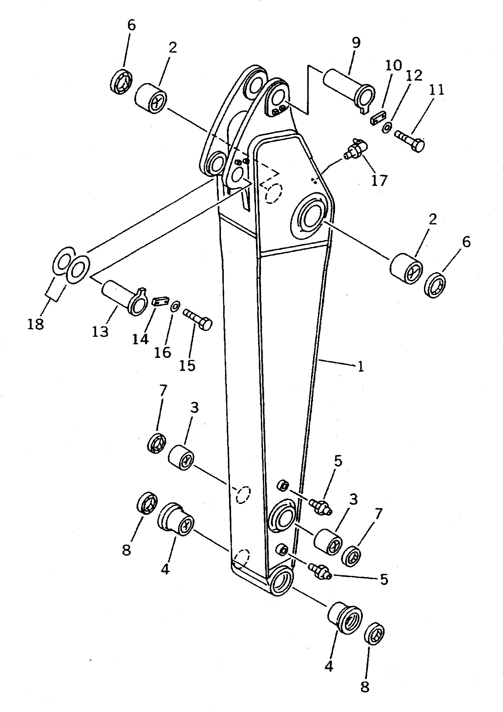
|1

207-944-0100

SHORT ARM ASS'Y

1

ARM

2

207-70-12161

BUSHING

3

207-70-32150

BUSHING

4

207-70-32140

BUSHING

5

07020-00000

FITTING,GREASE

6

07145-00110

SEAL,DUST

7

205-70-62180

SEAL,DUST

8

207-70-12270

SEAL,DUST

9

207-70-31190

PIN

10

203-46-56270

PLATE

|10

205-70-66580

PLATE

11

01010-51235

BOLT

12

01643-31232

WASHER

13

207-70-32160

PIN

14

205-70-66580

PLATE

15

01010-51235

BOLT

16

01643-31232

WASHER

17

07020-00900

FITTING,GREASE

18

207-70-24190

SPACER¤ 0.8MM

Выбрано товаров: 20