Запчасти Komatsu PC300-5K ПОВОРОТН. КРУГ ПОВОРОТН. СИСТЕМА

Схема запчастей Komatsu PC300-5K - ПОВОРОТН. КРУГ ПОВОРОТН. СИСТЕМА
FIT
1:1
100%

Артикул

Название

Примечание

Количество

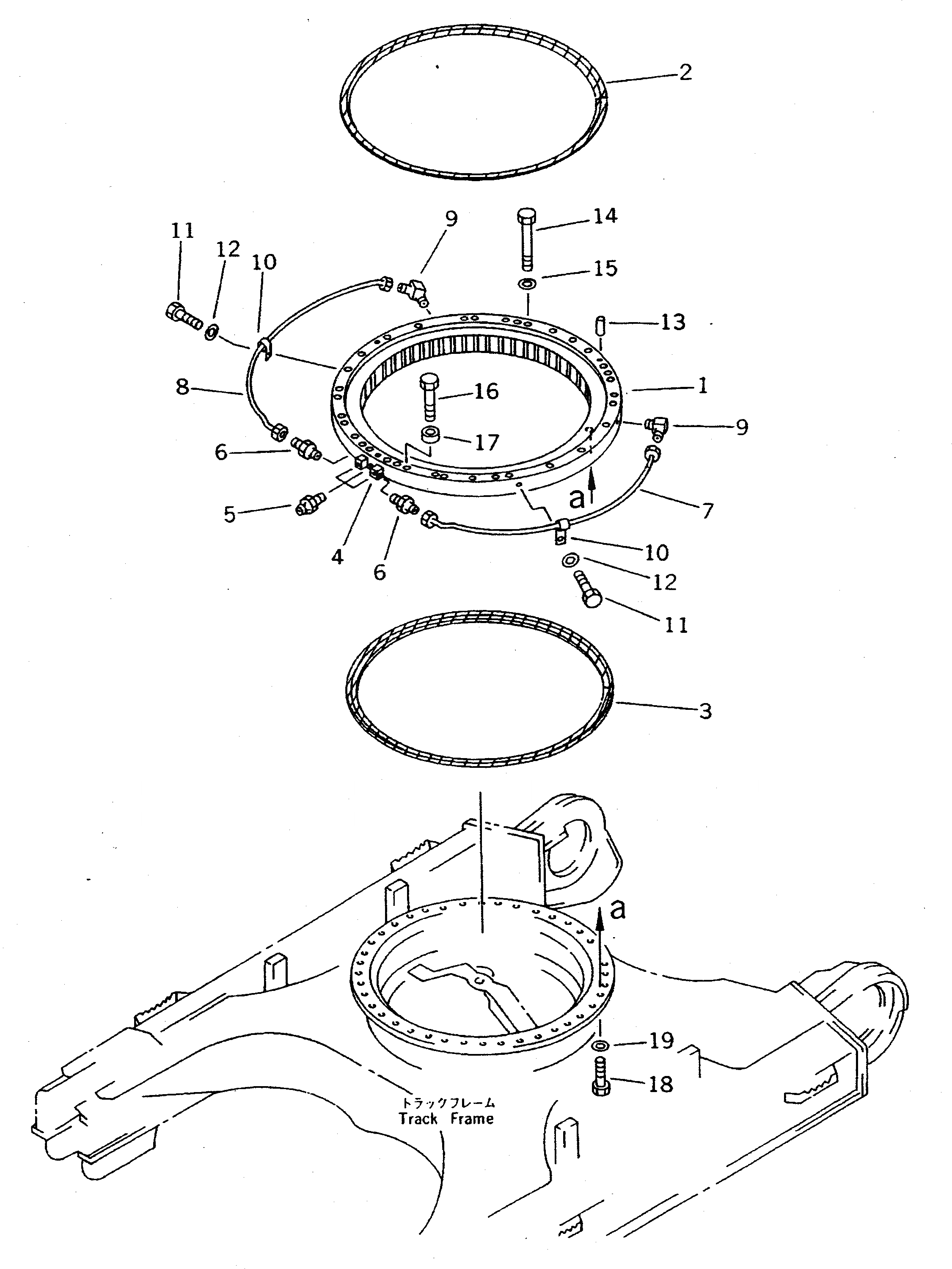
1

207-25-51100

CIRCLE,SWING

2

207-25-31120

SEAL

3

207-25-31130

SEAL

4

205-25-71280

NIPPLE

5

07020-00000

FITTING,GREASE

6

07213-50813

CONNECTOR

7

207-25-31162

TUBE

8

207-25-31152

TUBE

9

207-70-11740

ELBOW

10

08036-00814

CLIP

11

01010-51020

BOLT

12

01643-31032

WASHER

13

04020-01842

PIN,DOWEL

14

207-25-31190

BOLT

15

01643-32460

WASHER

16

208-25-11130

BOLT

17

207-25-31170

SPACER

18

207-25-31180

BOLT

19

01643-32460

WASHER

Выбрано товаров: 0