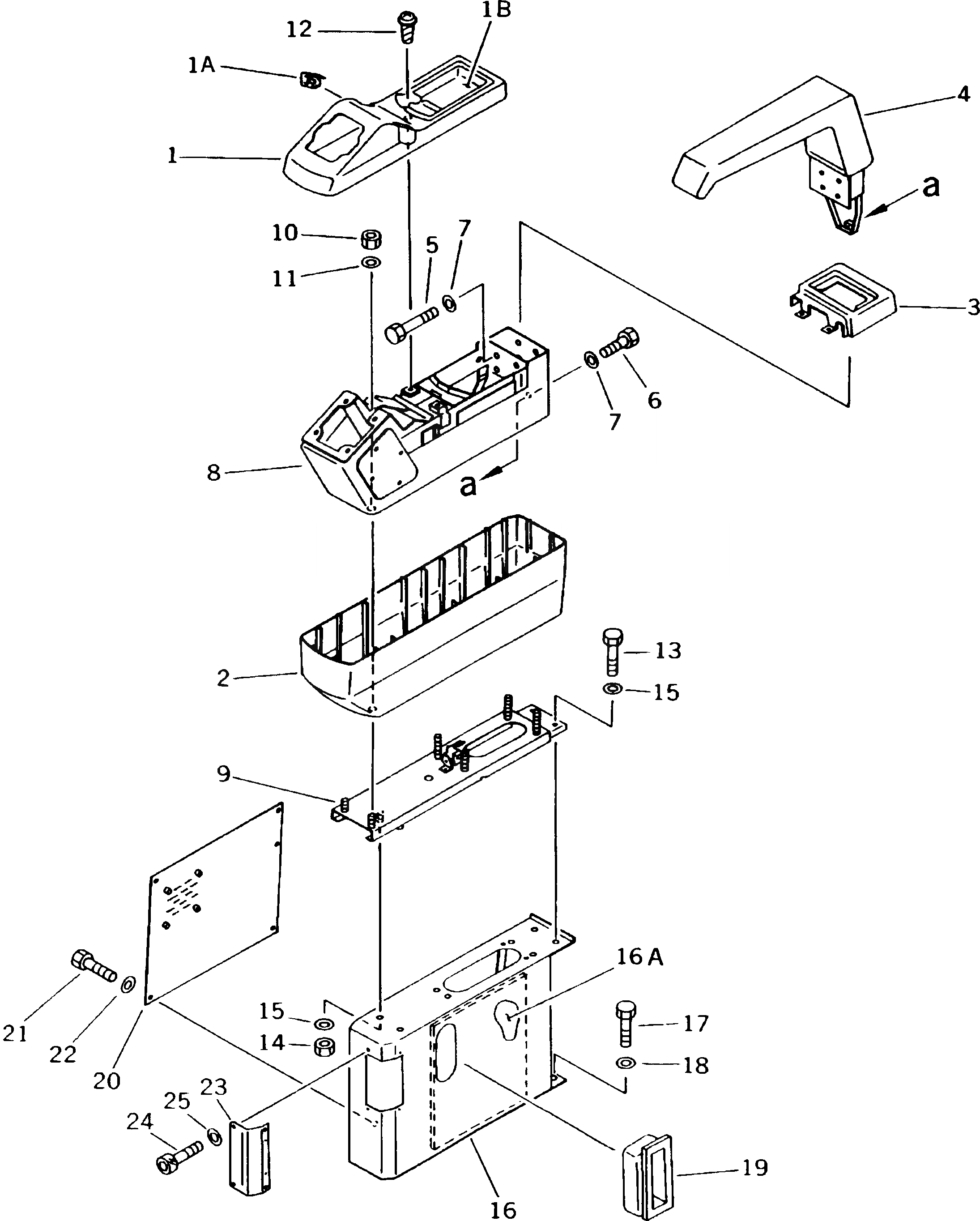
Запчасти Komatsu PC300-5K ЛЕВ. СТОЙКА И РЫЧАГ СИСТЕМА УПРАВЛЕНИЯ И ОСНОВНАЯ РАМА

Схема запчастей Komatsu PC300-5K - ЛЕВ. СТОЙКА И РЫЧАГ СИСТЕМА УПРАВЛЕНИЯ И ОСНОВНАЯ РАМА
FIT
1:1
100%

Артикул

Название

Примечание

Количество

1

20Y-43-16541

COVER

1A

20Y-43-16550

BUTTON

1B

20Y-43-16580

TRAY

2

20Y-43-16520

CASE

3

20Y-43-16560

COVER

4

20Y-43-16570

REST,ARM

5

01010-60850

BOLT

6

01010-60816

BOLT

7

01643-30823

WASHER

8

20Y-43-16530

BRACKET

9

20Y-43-16510

RAIL

10

01580-10806

NUT

11

01643-30823

WASHER

12

20Y-43-16590

SCREW

13

01010-60820

BOLT

14

01580-10806

NUT

15

01643-70823

WASHER

16

20Y-43-K1160

STAND

|16

20Y-43-K1250

STAND,(TBG SPEC.)

16A

208-43-53130

SHEET

17

01010-51225

BOLT

18

01643-31232

WASHER

19

205-43-72480

COVER

20

20Y-43-K1110

COVER

21

01010-50820

BOLT

22

01643-30823

WASHER

23

20Y-43-K1140

COVER

24

20Y-43-K1180

BOLT

25

20Y-43-K1190

WASHER

Выбрано товаров: 29