Запчасти Komatsu PC300-6 КОВШ¤ .M¤ MM (УСИЛ.) (ГОРИЗОНТАЛЬН. ПАЛЕЦ) (С РЕГУЛИРОВКОЙ) РАБОЧЕЕ ОБОРУДОВАНИЕ

Схема запчастей Komatsu PC300-6 - КОВШ¤ .M¤ MM (УСИЛ.) (ГОРИЗОНТАЛЬН. ПАЛЕЦ)     (С РЕГУЛИРОВКОЙ) РАБОЧЕЕ ОБОРУДОВАНИЕ
FIT
1:1
100%

Артикул

Название

Примечание

Количество

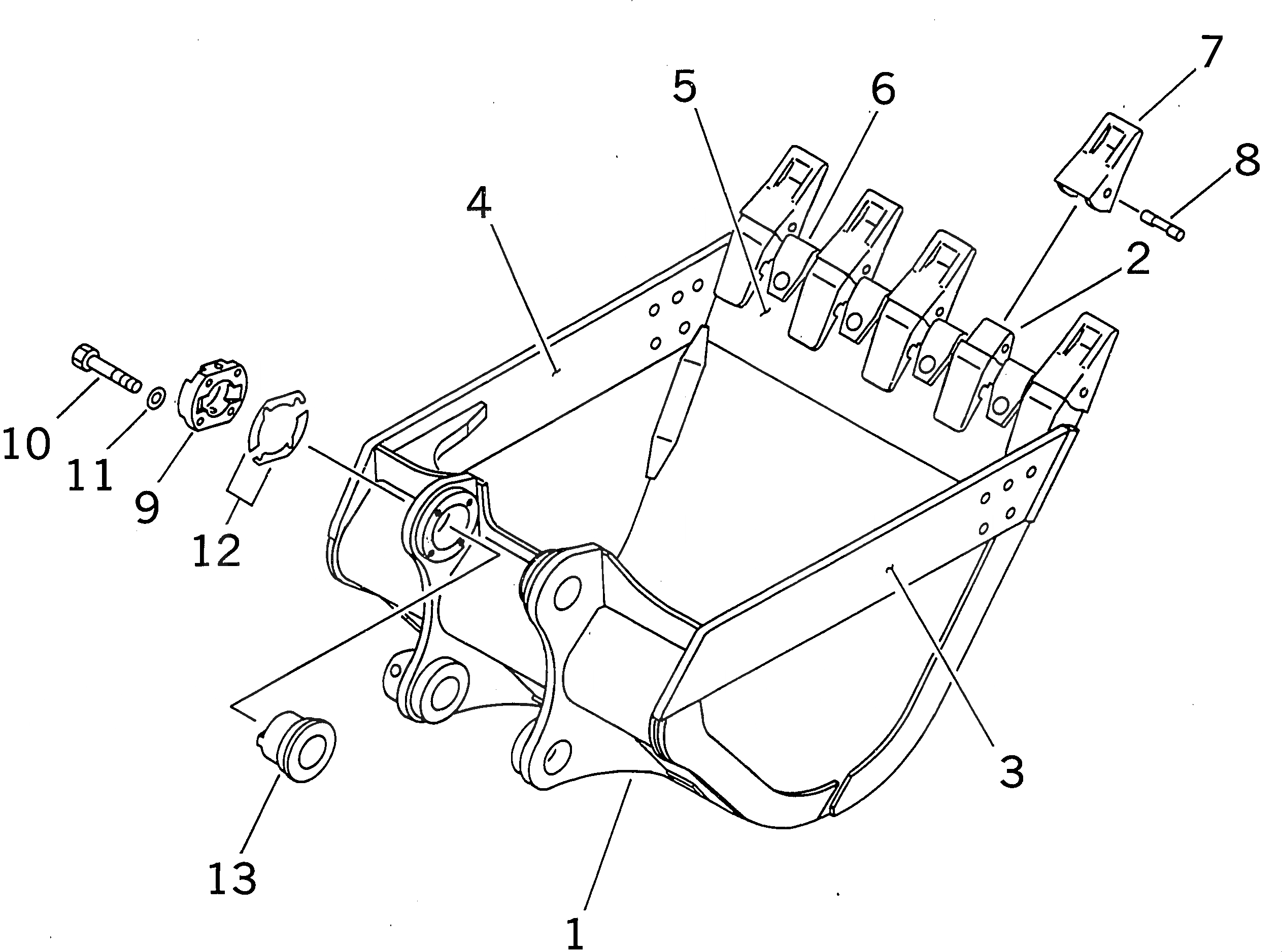
1

207-934-6110

BUCKET

2

207-934-5120

ADAPTER (WELDED)

3

207-934-6130

PLATE (WELDED)

4

207-934-6140

PLATE (WELDED)

5

207-934-6150

PLATE (WELDED)

6

208-934-5170

SHROUD (WELDED)

7

207-70-14151

TOOTH

8

09244-02516

PIN

9

207-70-34240

COVER

10

01010-62065

BOLT

|10

01010-32065

BOLT

11

01643-32060

WASHER

12

207-70-00060

SHIM ASS'Y

|12

SHIM¤ 1.0MM

|12

SHIM¤ 0.5MM

13

207-70-34230

BUSHING

Выбрано товаров: 16