Качественные детали и логистика
Оригинальные и аналоговые запчасти с доставкой по России, Казахстану и Беларуси
©2022 PartSell ООО "Система" ИНН 2463123282 ОГРН 1212400004838
Центральный офис: г. Красноярск, Академика Киренского, д.87, пом.4
Телефон: 8 (800) 777-65-74 Email: zakaz@partsell.ru
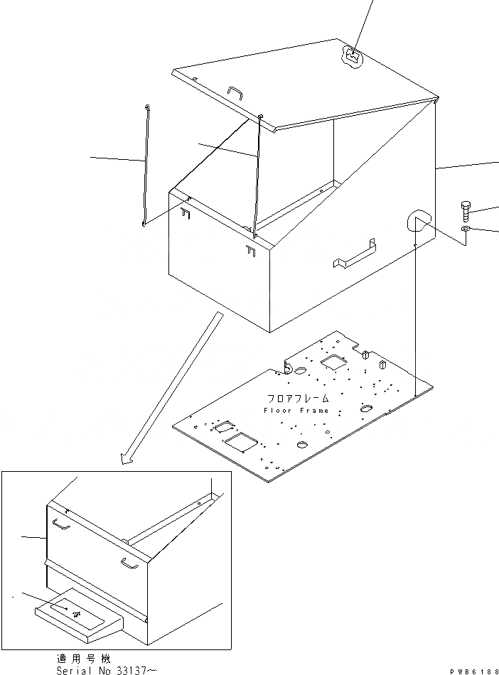
ПОКРЫТИЕ НИЖН. ЧАСТИ КАБИНЫ
№
Артикул
Название
Примечание
Количество
1
20Y-54-29790
COVER
2
09460-00002
LOCK
3
01010-81220
BOLT
01010-51220
4
01643-31232
WASHER
5
208-54-38280
BAR
6
154-54-23260
SEAT
Выбрано товаров: 0