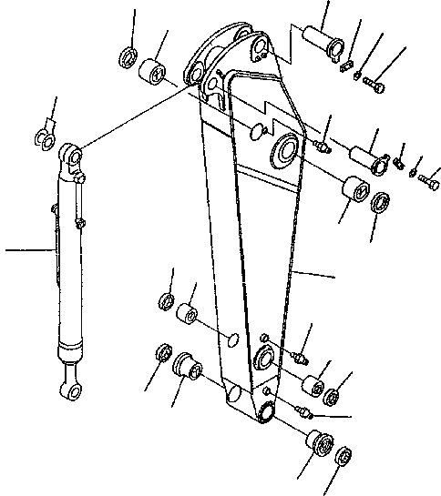
Запчасти Komatsu PC300-6 РУКОЯТЬ (.M)(РУКОЯТЬ И ЦИЛИНДР КОВША) РАБОЧЕЕ ОБОРУДОВАНИЕ

Схема запчастей Komatsu PC300-6 - РУКОЯТЬ (.M)(РУКОЯТЬ И ЦИЛИНДР КОВША) РАБОЧЕЕ ОБОРУДОВАНИЕ
18
19
8
4
4
8
7
3
5
3
7
5
6
1
2
17
13
9
6
2
10
12
11
14
16
15
FIT
1:1
100%

Артикул

Название

Примечание

Количество

|$1

207-944-0220

ARM ASS'Y

1

207-944-6220

ARM

2

207-70-61521

BUSHING

3

207-70-32150

BUSHING

4

207-70-32140

BUSHING

5

07020-00000

FITTING

6

07145-00110

DUST SEAL

7

205-70-62180

DUST SEAL

8

207-70-12270

SEAL

9

208-70-61240

PIN

10

205-70-66580

PLATE

11

01010-81235

BOLT

12

01643-31232

WASHER

13

207-70-61220

PIN

14

205-70-66580

PLATE

15

01010-81235

BOLT

16

01643-31232

WASHER

17

07020-00000

FITTING

18

207-70-24190

SPACER, 0.8MM

19

207-63-X2531

BUCKETCYLINDER G

|$21

207-63-X9040

BUCKETCYLINDER G

Выбрано товаров: 21