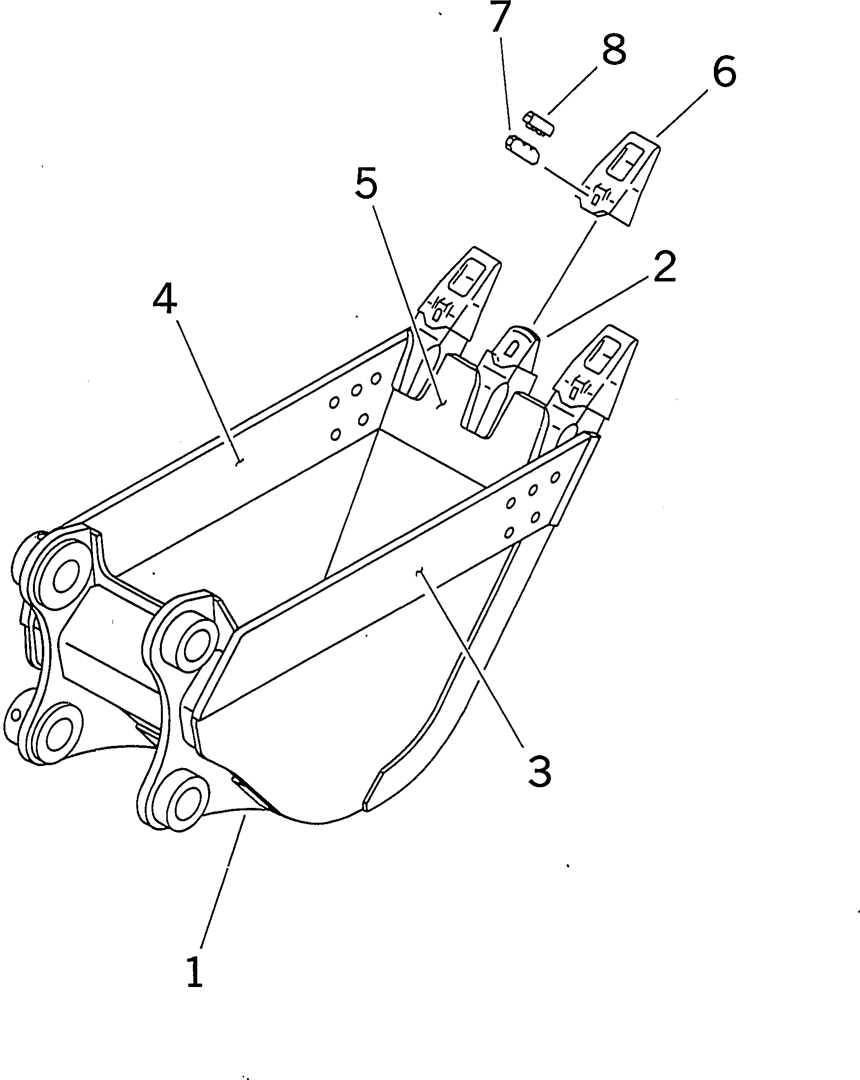
Запчасти Komatsu PC300-6Z КОВШ¤ .8M¤ MM (ВЕРТИКАЛЬН. ПАЛЕЦ) РАБОЧЕЕ ОБОРУДОВАНИЕ

Схема запчастей Komatsu PC300-6Z - КОВШ¤ .8M¤ MM (ВЕРТИКАЛЬН. ПАЛЕЦ) РАБОЧЕЕ ОБОРУДОВАНИЕ
FIT
1:1
100%

Артикул

Название

Примечание

Количество

1

207-926-5210

BUCKET

2

207-70-34151

ADAPTER (WELDED)

3

207-70-54120

PLATE,L.H. (WELDED)

4

207-70-54130

PLATE,R.H. (WELDED)

5

207-926-5220

PLATE (WELDED)

6

207-70-34212

TOOTH

7

207-70-34221

PIN

8

205-70-74291

LOCK

Выбрано товаров: 0