Запчасти Komatsu PC300-6Z КОВШ¤ .M¤ MM (ВЕРТИКАЛЬН. ПАЛЕЦ) (С РЕГУЛИРОВКОЙ)(№-7) РАБОЧЕЕ ОБОРУДОВАНИЕ

Схема запчастей Komatsu PC300-6Z - КОВШ¤ .M¤ MM (ВЕРТИКАЛЬН. ПАЛЕЦ) (С РЕГУЛИРОВКОЙ)(№-7) РАБОЧЕЕ ОБОРУДОВАНИЕ
FIT
1:1
100%

Артикул

Название

Примечание

Количество

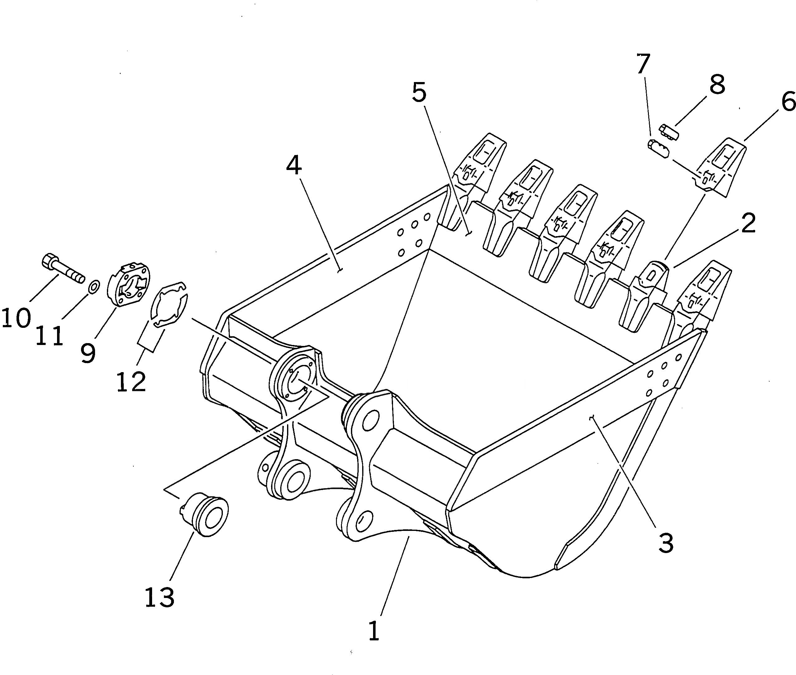
1

207-920-5110

BUCKET

2

207-70-34151

ADAPTER (WELDED)

3

207-70-54121

PLATE,L.H. (WELDED)

3

207-70-54120

PLATE,L.H. (WELDED)

4

207-70-54131

PLATE,R.H. (WELDED)

4

207-70-54130

PLATE,R.H. (WELDED)

5

207-920-5120

PLATE (WELDED)

6

207-70-34212

TOOTH

7

207-70-34221

PIN

8

205-70-74291

LOCK

9

207-70-34240

COVER

10

01010-62065

BOLT

10

01010-32065

BOLT

11

01643-32060

WASHER

12

207-70-00061

SHIM ASS'Y

12

207-70-00060

SHIM ASS'Y

12

SHIM, 1.0MM

12

SHIM, 1.0MM

12

SHIM, 0.5MM

13

207-70-34230

BUSHING

Выбрано товаров: 20