Запчасти Komatsu PC300-7-AA УПЛОТНЕНИЯ РАБОЧЕЕ ОБОРУДОВАНИЕ

Схема запчастей Komatsu PC300-7-AA - УПЛОТНЕНИЯ РАБОЧЕЕ ОБОРУДОВАНИЕ
FIT
1:1
100%

Артикул

Название

Примечание

Количество

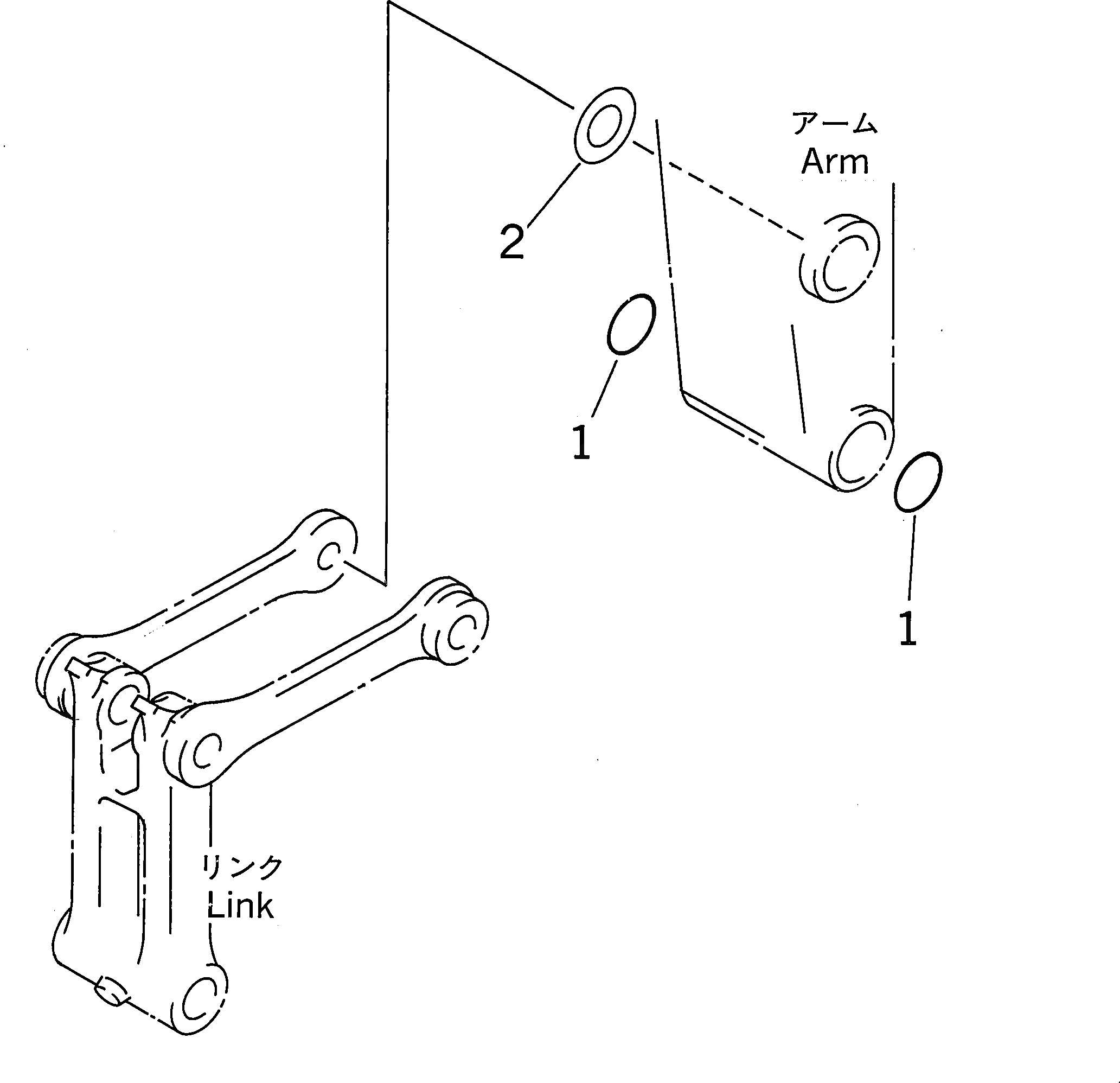
1

207-70-33181

O-RING

2

207-70-24190

SPACER¤ 0.8MM

Выбрано товаров: 0