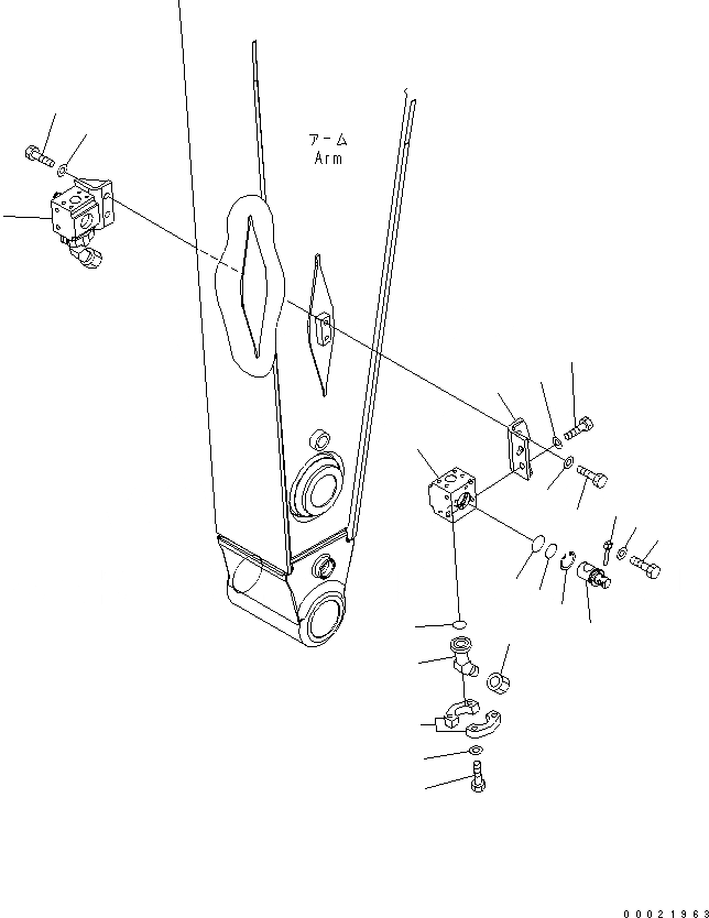
Запчасти Komatsu PC300-7 РУКОЯТЬ (.M) (КЛАПАН) (С ДОПОЛН. ГИДРОЛИНИЕЙ) РАБОЧЕЕ ОБОРУДОВАНИЕ

Схема запчастей Komatsu PC300-7 - РУКОЯТЬ (.M) (КЛАПАН) (С ДОПОЛН. ГИДРОЛИНИЕЙ) РАБОЧЕЕ ОБОРУДОВАНИЕ
1
1
2
3
4
5
6
7
8
9
10
10
10
11
11
11
12
13
14
15
16
17
FIT
1:1
100%

Артикул

Название

Примечание

Количество

|$5

21M-970-1204

VALVE ASS'Y

|$6

21M-970-1203

VALVE

|$7

21M-970-1204

VALVE ASS'Y

|$8

21M-970-1203

VALVE

1

BLOCK

2

21M-970-1223

ROTOR

2

21M-970-1222

ROTOR

2

21M-970-1223

ROTOR

2

21M-970-1222

ROTOR

3

202-970-2210

PIN

4

01010-81230

BOLT

5

01643-31232

WASHER

6

04065-05820

RING

7

07000-12050

O-RING

8

07000-12055

O-RING

9

21M-970-1173

BRACKET

9

21M-970-1172

BRACKET

10

01010-81640

BOLT

11

01643-31645

WASHER

12

07371-51260

FLANGE

13

07000-13038

O-RING

14

01010-81245

BOLT

15

01643-31232

WASHER

16

207-970-5510

NIPPLE

17

205-970-7680

PLUG

Выбрано товаров: 25