Запчасти Komatsu PC300-7 ОСНОВН. КЛАПАН (СОЕДИНИТЕЛЬН. ЧАСТИ ) (/) H ГИДРАВЛИКА

Схема запчастей Komatsu PC300-7 - ОСНОВН. КЛАПАН (СОЕДИНИТЕЛЬН. ЧАСТИ ) (/) H ГИДРАВЛИКА
16
9
10
16
5
4
11
10
11
16
16
6
7
4
5
16
9
8
16
1
2
3
25
24
23
23
21
20
27
18
19
26
19
17
20
26
18
19
16
14
15
16
15
14
16
4
5
16
12
13
4
5
16
FIT
1:1
100%

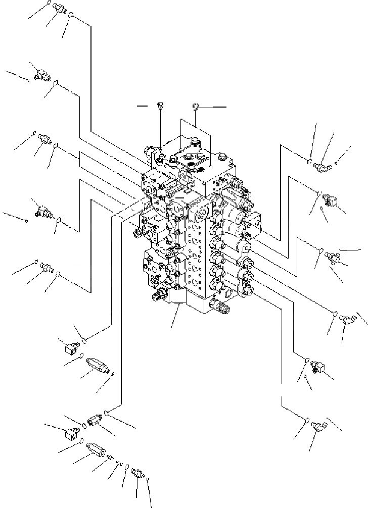
Артикул

Название

Примечание

Количество

1

723-47-26103

CONTROL VALVE

|$2

723-47-26102

CONTROL VALVE

2

07049-01012

PLUG

3

07049-01215

PLUG

4

20Y-62-45620

ELBOW

5

02896-11008

O-RING

6

11Y-62-12160

ELBOW

7

02896-11008

O-RING

8

21W-62-42490

ELBOW

9

02896-11009

O-RING

10

11Y-62-12250

TEE

11

02896-11008

O-RING

12

11Y-62-12130

NIPPLE

13

02896-11008

O-RING

14

11Y-62-12520

UNION

15

02896-11009

O-RING

16

07002-11423

O-RING

17

20Y-62-22160

ADAPTER

18

20Y-62-23541

ELBOW

19

07002-11423

O-RING

|$21

20Y-62-41700

VALVE A.

20

BODY

21

20Y60-22270

POPPET

22

701-20-61230

SPRING

23

07002-11423

O-RING

24

11Y-62-12130

NIPPLE

25

02896-11008

O-RING

26

07002-11423

O-RING

Выбрано товаров: 28