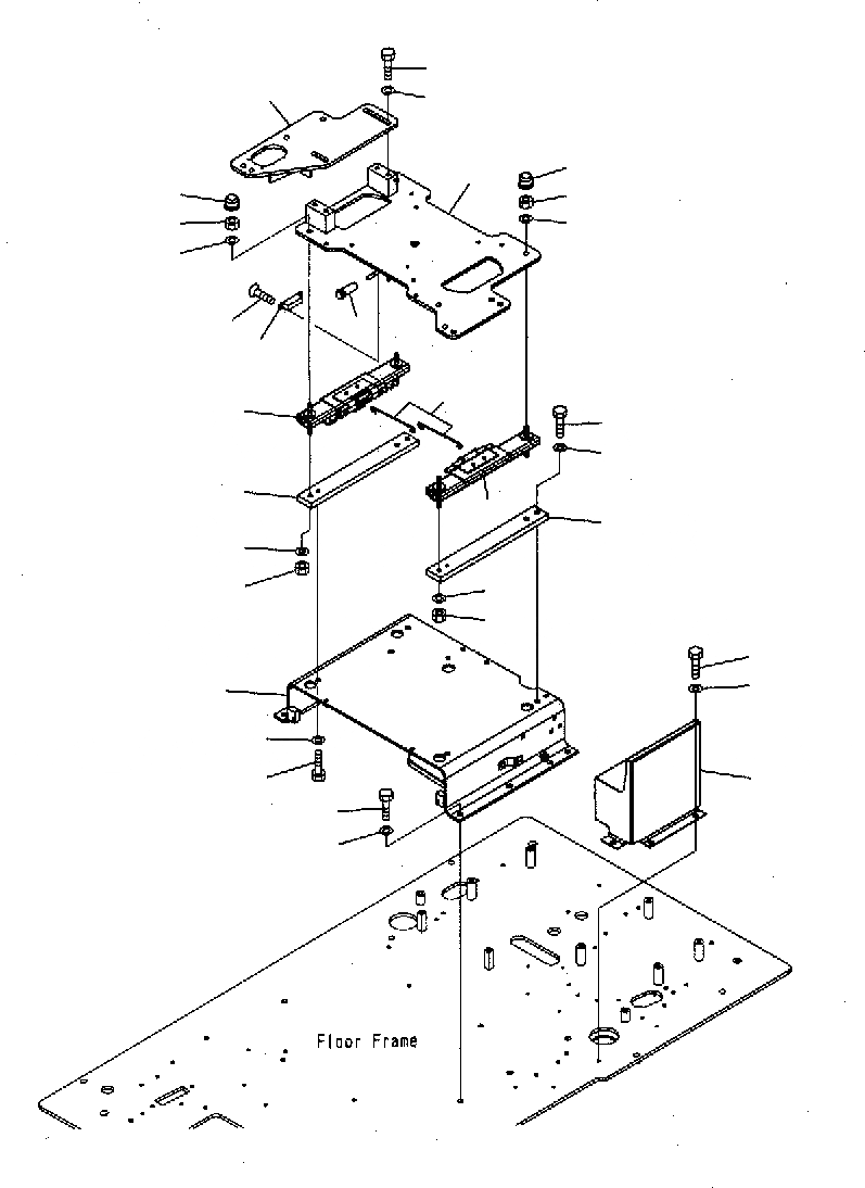
Запчасти Komatsu PC300-7 ОСНОВН. КОНСТРУКЦИЯ (ОСНОВ.) K КАБИНА ОПЕРАТОРА И СИСТЕМА УПРАВЛЕНИЯ

Схема запчастей Komatsu PC300-7 - ОСНОВН. КОНСТРУКЦИЯ (ОСНОВ.) K КАБИНА ОПЕРАТОРА И СИСТЕМА УПРАВЛЕНИЯ
27
28
26
11
10
5
6
4
9
24
25
17
20
18
19
15
16
23
21
22
12
4
14
13
20
18
19
1
2
3
8
7
FIT
1:1
100%

Артикул

Название

Примечание

Количество

1

20Y-43-31121

BRACKET

2

01010-D1235

BOLT

3

01643-71232

WASHER

4

20Y-43-31260

PLATE

5

01010-D1035

BOLT

6

01643-71032

WASHER

7

01010-81025

BOLT

8

01643-31032

WASHER

9

20Y-43-31140

ADJUSTER(L.H)

10

20Y-54-65340

NUT

11

01643-71032

WASHER

12

20Y-43-31150

ADJUSTER(R.H)

13

20Y-54-65340

NUT

14

01643-71032

WASHER

15

22U-43-21260

WIRE

16

20Y-54-43150

KNOB

17

20Y-43-31181

FRAME

18

20Y-54-65340

NUT

19

01643-71032

WASHER

20

20Y-54-65540

CAP

21

09452-06506

CATCHER

22

01224-40410

SCREW

23

20Y-43-31191

FRAME

24

01010-D1230

BOLT

25

22U-54-25170

WASHER

26

20Y-43-31231

COVER

27

01010-D1016

BOLT

28

01643-71032

WASHER

Выбрано товаров: 28