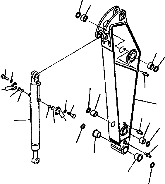
Запчасти Komatsu PC300-7 РУКОЯТЬ (.M) (ДЛЯ COMPONENT) T РАБОЧЕЕ ОБОРУДОВАНИЕ

Схема запчастей Komatsu PC300-7 - РУКОЯТЬ (.M) (ДЛЯ COMPONENT) T РАБОЧЕЕ ОБОРУДОВАНИЕ
10
9
11
13
12
7
3
7
4
4
7
5
3
7
1
5
2
6
6
2
8
11
9
10
12
13
5
FIT
1:1
100%

Артикул

Название

Примечание

Количество

1

207-944-7110

ARM

2

207-70-61521

BUSHING

3

207-70-32150

BUSHING

4

207-70-72460

BUSHING

5

07020-00000

FITTING

6

07145-00110

SEAL

7

207-70-72120

SEAL.DUST

8

707-01-XC621

BUCKET CYL.100H

|$9

707-01-XC620

BUCKET CYL.100H

9

07378-11000

HEAD

10

07000-13032

O-RING

11

07371-31049

FLANGE

12

07372-21035

BOLT

13

01643-51032

WASHER

Выбрано товаров: 14